今天给大家分享 S8050三极管,电子工程师应该太熟悉了吧?比较基础和简单,主要从以下几个方面介绍:
什么是 S8050?
S8050 三极管引脚参数
S8050 的CAD 模型
S8050 特点
S8050 工作原理讲解
S8050 可以用什么型号替换?
S8050 三极管如何工作的?
一、什么是 S8050?
S8050 是一款NPN 外延硅晶体管,具有低电压和高电流能力,是推挽放大和通用开关应用的亮点。
S8050三极管包含三层,其中一个 P 掺杂半导体层封装在另外两个 N 掺杂层之间。P掺杂层代表基极端,而其他两层分别代表发射极和集电极。
S8050三极管具有两个 PN 结:正向偏置的发射极-基极结和反向偏置的集电极-基极结。
需要注意的是,S8050 三极管必须在正向偏置模式下运行才能获得更好的性能。如果晶体管没有正向偏置,则无论在基极端子上施加多少电压,都不会有集电极电流。
当在基极端施加电压时,放大是一种简单的方式,晶体管吸收小电流,然后用于控制其他端子的大电流。
S8050 三极管实物图
二、S8050 三极管参数
S8050三极管主要包含三个端子,即发射极、基极和集电极,用于与电子电路的外部连接,三个端子在掺杂浓度方面是不同的。
其中发射极是高度掺杂的,基极是轻掺杂的,而集电极是中掺杂的。前者控制电子数量,后者从基极收集电子数量。一个端子的小电流用于控制其他端子的大电流。下图显示了 S8050三极管的引脚排列。

S8050 三极管引脚参数图

S8050 三极管引脚图
三、S8050 的CAD 模型
1、S8050三极管电路符号模型图

S8050 三极管电路符号模型图
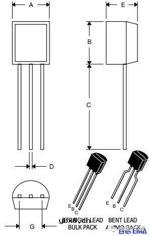
2、S8050三极管的封装尺寸图

S8050 三极管的封装尺寸图
3、S8050三极管的 3D 模型图
S8050 三极管的 3D 模型图
四、S8050 三极管特点
低电压、大电流 NPN 晶体管
小信号晶体管
最大功率:2 W
最大直流电流增益 (hFE) 为 400
连续集电极电流 (IC) 为 700mA
基极-发射极电压(VBE) 为 5V
集电极-发射极电压 (VCE) 为 20V
集电极-基极电压 (VCB) 为 30V
高 用于推挽配置 B 类放大器
To-92 封装

S8050 三极管封装尺寸图
五、S8050 工作原理讲解
在 S8050 NPN 晶体管中,当基极接地时,发射极和集电极等两个端子都将反向偏置,当向基极引脚提供信号时,它们将关闭(正向偏置)。
S8050 三极管的最大增益值为 300,此值将决定放大能力,如果放大率很高,则将其用于放大。
但是,集电极电流的增益值将是 110,并且整个集电极端子的最大电流供应是 700mA,因此我们无法通过该晶体管通过 700mA 以上的电流来控制不同的负载。一旦向必须限制在 5mA 的基极引脚提供电流供应,晶体管就可以被偏置。
一旦该晶体管完全偏置,则它允许高达 700mA 的电流通过发射极和集电极端子提供,因此该阶段称为饱和区。VCE 或 VCB 上使用的典型电压相应为 20V 和 30V。
一旦在晶体管的基极端移除电流源,它将被关闭,因此这个阶段称为截止区域。

S8050三极管电路图
在S8050 NPN 晶体管中,电子是主要的电荷载流子,与空穴是主要电荷载流子的 PNP 晶体管不同
基极相对于发射极更正,集电极上的电压也必须比基极更正。
两个电流增益因素:共发射极电流增益和共基极电流增益对决定晶体管的特性起着至关重要的作用。
共发射极电流增益是集电极电流和基极电流之间的比率,这称为贝塔,用 β表示,通常在 20 到 1000 之间,但标准值取为 200。
同样,共基极电流增益是集电极电流和发射极电流之间的比率,它被称为阿尔法,用 α表示,其值主要在0.95到0.99之间,但大多数时候它的值被取为1。
六、S8050 可以用什么型号替换?
1、S8050 替代品
2N3904、2N3906、S9014、SS8050、2N2369、BC547
2、S8050等效型号
2N5830、S9013
七、S8050 三极管如何工作的?
1、S8050 三极管构成推挽放大器(B类放大器)
推挽放大器是一种多级放大器,常用于扬声器内的音频放大,该电路的设计非常简单,需要两个相等的互补晶体管才能工作。
互补意味着我们需要一个 NPN 晶体管及其等效的 PNP 晶体管。像这里的 NPN 晶体管将是 S8050 ,其等效的 PNP 晶体管将是S8550。使用 S8050 的 B 类放大器的简单电路图如下所示。

S8050 的 B 类放大器的简单电路图
2、S8050 三极管作为开关
当 S8050 三极管用作开关时,它工作在饱和区和截止区。
当我们向晶体管的基极提供电流时,它为集电极电流从基极流向发射极开辟了一条路径。在正向偏置期间,晶体管将充当打开开关,在反向偏置期间,它将充当闭合开关。
S8050 三极管作为开关电路图如下所示:

S8050 三极管作为开关电路图
3、S8050 三极管作为放大器
当处于活动区域时,S8050 三极管作为放大器工作。S8050 三极管具有放大功率、电压和电流的能力。
最流行和最常用的配置是共发射极类型, 输入总是施加在放大晶体管电路的正向偏置结上,类似地,可以通过晶体管的反向偏置结收集输出。
S8050 三极管作为放大器电路图如下所示:

推荐阅读:
开关电源原理及各功能电路详解,多种电路图深入了解
开关电源“各类保护电路”实例分析
超声波雾化器电路图,非常简单且不言自明
LC振荡电路原理,图文详解搞得明明明白白

S8050 三极管作为放大器电路图
4、S8050 的其他应用
音频放大电路
B类放大器
推挽晶体管
需要高增益的电路
低信号应用
用于需要高电平的电路中
不同的电路中用作开关。
它将低增益信号放大到高增益
审核编辑:汤梓红
电场激活原位掺杂平面光伏型胶体量子点红外...
时间:2026-03-09
什么是硅片或者晶圆?一文了解半导体硅晶圆
时间:2026-03-09
集成电路的几纳米代表了什么?
时间:2026-03-09
金刚石基GaN问世 化合物半导体行业进入第三...
时间:2026-03-09
实用模拟电路小常识浅析
时间:2026-03-09
寄存器是什么?怎么操作寄存器点亮LED灯?
时间:2026-03-09
一文详解MOS管驱动电路拓扑的设计
时间:2026-03-09
汽车芯片业应汲取的教训
时间:2026-03-09
半导体光刻工艺 光刻—半导体电路的绘制
时间:2026-03-09
电阻的原理和作用 电阻色环识别图 电路中电...
时间:2026-03-09
石英灯电子变压器电路原理
时间:2026-03-06
变压器的常用型号如何标识?变压器的有载如...
时间:2026-03-06
使用过滤器电容器和诱导器来抑制受辐射的EM...
时间:2026-03-05
LED固晶机龙头直面“寒冬”
时间:2026-03-05
玻璃釉电容器的结构与特点
时间:2026-03-05
电容器入门教程
时间:2026-03-05
分析一个工作中常用的带有放大功能的高精度...
时间:2026-03-05
关于STM32WL LSE 添加反馈电阻后无法起振的...
时间:2026-03-05
绝缘电阻表的选用及使用注意事项
时间:2026-03-05
压敏电阻爆裂的原因分析
时间:2026-03-05