分频器及量程选择电路
电路图基础2026-03-07
分频器及量程选择电路 分频器是由多级计数器完成,目的是得到不同的标准时基信号。采用4片双十进制中规模计数器CD4518级联可获得10KHZ、1HZ、0.1HZ的标准信号。电路如图所示:
电子管RC有源分频器的制作
电路图基础2026-03-07
无论是目前还是今后.双声道立体声仍将是家庭高保真放音的主要方式并将一直广泛地为发烧友所采用,它不会因SACD和DVD-Audio高质量多声道系统的出现而消亡。这是因为双声道系统简单,调整和使用方便,系统成本低而音
可编程分频器电路
电路图基础2026-03-07
可编程分频器电路 可编程分频器:计数器可以对计数脉冲分频,改变计数器的模便可以改变分频比。根据这个原理,可以用集成计数器构成分频比可变的分频器,即可编程分频器。
二阶分频器低通单元电路
电路图基础2026-03-07
二阶分频器低通单元电路 二阶(双元件)低通分频器电路结构如图1所示。
二阶高通分频器单元电路
电路图基础2026-03-07
二阶高通分频器单元电路 为一40dB/dec,而每倍频程下降为一40Lg2=一400.3=
分频器原理图 (3例)
电路图基础2026-03-06
分频器原理图
电工问答2026-03-06
音箱分频器品牌排名一:漫步者 EDIFIER漫步者创立于1996年,是目前国内第一、全球第二大专业多媒体音响企业。漫步者多年来专注于音频技术的研究开发与产品应用,旗下产品线涵盖多媒体电脑音箱、家用音
汽车音响的分频器有哪些种类_有什么作用_汽车音响分频器安装位置
电工问答2026-03-06
汽车音响(auto audio) 为减轻驾驶员和乘员旅行中的枯燥感而设置的收放音装置。最早使用的是汽车调幅收音机,后来是调幅调频收音机、磁带放音机,发展至CD放音机和兼容DCC、DAT数码音响。现在汽车音响无论在
音箱是如何呈现出高低音_探秘音箱内的分频器
电工问答2026-03-06
分频器一般常用于拥有高音和低音的单元,或者带有中音单元的音箱中,若缺少分频器这种拥有多单元的音箱就不能将不同频段的声音进行回放。而且分频器的种类以及质量的差异,也同时影响到音箱能否回放出更好的
音箱分频器的维修方法_音箱分频器怎么接喇叭
电工问答2026-03-06
音箱分频器的维修方法 分频器一般故障是电容、电阻、电感烧坏,应换同等数据的。如果烧坏看不到原数据,就只能拆开另一只音箱查*对应元件数据。找不到同等数据元件,可用串、并联方式获得,功率只能大
TTL十进位计数器构成的分频器
电路图基础2026-03-06
TTL十进位计数器构成的分频器
分频系数可变的分频器
电路图基础2026-03-06
分频系数可变的分频器
工作频率为10MHz~100MHz的分频器
电路图基础2026-03-06
工作频率为10MHz~100MHz的分频器
将50Hz或60Hz频率变成60分之1Hz频率的分频器
电路图基础2026-03-06
将50Hz或60Hz频率变成60分之1Hz频率的分频器
具有奇次和偶次分频的分频器
电路图基础2026-03-06
具有奇次和偶次分频的分频器
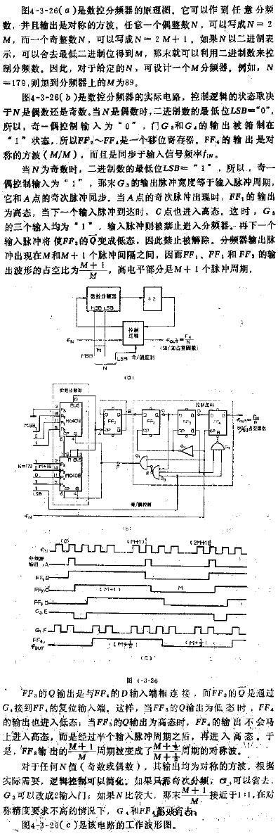
可由逻辑电平控制分频系数的分频器
电路图基础2026-03-06
可由逻辑电平控制分频系数的分频器
RS485基本知识介绍
时间:2026-04-18
什么是激光雷达?激光雷达的构成与分类
时间:2026-04-18
Excelpoint - 一文了解SiC MOS的应用
时间:2026-04-18
什么是磁电阻器?磁电阻特性及应用
时间:2026-04-18
什么是电场?电场在电容器中的应用
时间:2026-04-18
什么是ARM64?
时间:2026-04-17
vga和hdmi的区别
时间:2026-04-17
什么是ESD?ESD及TVS的原理和应用
时间:2026-04-17
开关电源原理与维修完整版 (10)_标清视频
时间:2026-04-16
开关电源原理与维修完整版 (11)_标清视频
时间:2026-04-16
半导体光刻工艺 光刻—半导体电路的绘制
时间:2026-03-09
石英灯电子变压器电路原理
时间:2026-03-06
什么是硅片或者晶圆?一文了解半导体硅晶圆
时间:2026-03-09
什么是室温超导?半导体时代将走向结束?芯...
时间:2026-03-09
北京理工大学实现了光导型向平面光伏型量子...
时间:2026-03-09
HTCC:半导体封装的理想方式
时间:2026-03-06
如何利用可扩展的柔性中间层制备超低模量电...
时间:2026-03-09
光伏控制器简介
时间:2026-03-06
电阻的原理和作用 电阻色环识别图 电路中电...
时间:2026-03-09
NVIDIA CPU+GPU超级芯片大升级!
时间:2026-03-09