基于STM32单片机的老人情绪系统
一.系统设计
本次老人情绪系统的设计使用STM32单片机作为控制中心,通过GPS检测位置信息,通过血氧传感器检测血氧心率,通过DHT11测量温湿度,检测到的数据通过WIFI模块上传到数据端,当只有一个参数超限,则显示健康异常,当有两个参数超限,则显示情绪激动,当两个参数低限时,显示情绪低落,然后检测到位置偏差则进行位置异常提醒,到达定时时间则进行关怀提醒。

图1 系统框图
二.硬件设计
本设计所采用的STM32F103C8T6是以Cortex-3为核心的单片机,它的功能是实现软件的执行,并对外部的器件、模块进行控制。该系统主要有血氧检测电路,OLED显示电路,DS1302电路,GPS位置检测电路组成。

图2 硬件电路
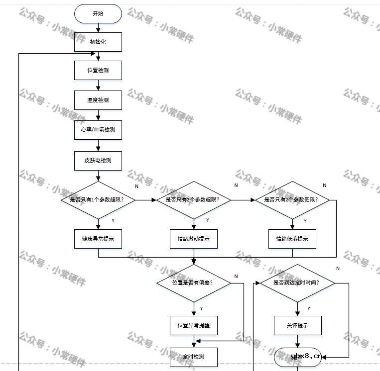
三.软件设计
系统的软件实现过程中首先要进行的系统初始化,初始化结束后开始进行位置检测,温度检测,心率/血氧检测,皮肤电检测,当只有一个参数超限,则显示健康异常,当有两个参数超限,则显示情绪激动,当两个参数低限时,显示情绪低落,然后检测到位置偏差则进行位置异常提醒,到达定时时间则进行关怀提醒。继续判断位置是否偏差,若位置偏差则进行位置异常提醒,再判断是否到达定时时间,若到达定时时间则进行关怀提醒。

图3 程序流程图

图4 主程序
审核编辑:刘清
一款可植入电池内部的高精度光纤传感器
时间:2026-03-18
拜安半导体6英寸MEMS光纤传感器芯片特色生产...
时间:2026-03-18
探讨一下IGBT的片上电流传感器基本原理及用...
时间:2026-03-18
基于微针的生物传感器研究进展
时间:2026-03-18
全志R128应用开发案例—中断方式驱动旋转编...
时间:2026-03-18
索尼推出业内首颗最高像素车载CMOS图像传感...
时间:2026-03-18
onsemi推出适用于智能家居的Hyperlux LP图像...
时间:2026-03-18
Melexis推出高性能线性行程磁位置传感器芯片
时间:2026-03-18
使用XR806芯片驱动一下DHT11温湿度传感器
时间:2026-03-18
具有弯曲宏观裂纹的多功能水凝胶传感器
时间:2026-03-18
玻璃釉电容器的结构与特点
时间:2026-03-05
电阻的标称阻值和允许偏差
时间:2026-03-05
石英灯电子变压器电路原理
时间:2026-03-06
变压器并列运行的条件浅析
时间:2026-03-06
碳膜电阻如何识别_金属膜电阻器和碳膜电阻器...
时间:2026-03-05
三极管的主要参数
时间:2026-03-07
光伏控制器简介
时间:2026-03-06
关于STM32WL LSE 添加反馈电阻后无法起振的...
时间:2026-03-05
贴片电阻怎么识别_贴片电阻识别方法
时间:2026-03-05
可调电阻怎么接线
时间:2026-03-05