车速传感器般检测方法有 两种:
①拆下车速传感器连接插头,用万用表电阻档检查传感器两根引线的电阻值,应符合标准要求。
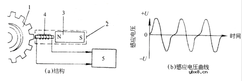
②转动变速器的输出轴,用汽车示波器检测车速传感器两弓线间的信号电压波形,呈交流电的波形且波形的幅值与频率随输出轴转速的加快而增大,这表明传感器性能良好。
车速传感器检测汽车的车速,通过电脑用这个输入信号来控制自动变速器换档及发动机冷却风扇的开闭和巡航定速等其它功能:
1、拔下车速传感器线束插头。
2、用万用表测量传感器两接线端之间的电阻。不同车型自动变速器电阻值不完全相同,通常为几百欧到几千欧。如果感应线圃短路、断路或电阻值不符合标准,则应更换传感器。
1、将一侧驱动轮顶起,让操纵手柄置于空挡。用手转动悬空的驱动轮,同时用万用表测量车速传感器两接线柱之间有无脉冲感应电压。测量时,应将万用表选择开关转至IV以下的直流挡位置或电阻挡位置。若在转动车轮时万用表指针有摆动,说明传感器有输出脉冲,其工作正常;否则,应更换传感器。
2、测量输人轴转速传感器输出脉冲时,应将传感器拆下,用一根铁棒或一块磁铁迅速靠近或离开传感器),同时用万用表测量传感器两接线柱之间有无脉冲感应电压。如果没有感应电压或感应电压很微弱,说明传感器有故障,应更换新件。
①就车检测。拔下车速传感器连接器接头,用万用表测量传感器两接线端子间电阻,如图3所示。不同车型自动变速器的这种车速传感器感应线圈的电阻值不同,一般为几百欧到几千欧。
将车支起,用手转动悬空的驱动车轮,同时用万用表测量车速传感器的两接线端子间有无脉冲感应电压。 若万用表指针有摆动,说明传感器有输出脉冲电压,传感器工作正常;否则,说明传感器有故障,应进一步 检查传感器转子及感应线圈是否脏污,若脏污,应进行清洁,再进行测试。若传感器仍无脉冲电压产生,确 认传感器已经损坏,应进行更换。车速传感器脉冲电压测量,如图4所示。
②单件检测。拆下车速传感器,测量传感器输出脉冲电压。具体操作是,用一根铁棒或

图1电磁感应式车速传感器的安装 1-轴出轴,⒉停车锁定齿轮;3车速传感器

图2 车速传感器的工作原理
1停车锁定齿轮;2车速传感器; 3永久磁铁;4感应线圈;5电控组件
一块磁铁迅速靠近或者离开传感器,同时用万用表测量传感器两接线端子间有无脉冲电压产生,如图5 所示。如果没有感应电压或感应电压很微弱,说明传感器有故障,应进一步检查,再试验,确认有故障后, 再进行更换。
对于装有自动变速器的轿车,其自动变速器输人轴转速传感器,一般也采用电磁感应式转速传感器,它的 结构与电磁感应式车速传感器相同,工作原理也与车速传感器相同。该传感器被安装在行星齿轮变速器输人 轴或与输人轴连接的离合器鼓附近的壳体上,如图6所示。输人轴转速传感器用于检测输人轴转速,并 把信号输入电控组件,电控组件根据该信号更加精确地控制换挡。另外,电控组件还把该信号与发动机转速信号进行比较,计算出变矩器的传动比,使主油路压力控制过程和锁定离合器的控制过程得到优化,以达到改善换挡感觉,提高行驶性能的目的。
电磁感应式输入轴转速传感器的结构、工作原理与检测方法与电磁感应式车速传感器相同。
转向辅助灯和自动转向灯的对比 各有何作用
时间:2026-03-16
浅谈接近与环境光强度数字传感器-APDS9930
时间:2026-03-16
详解DHT11数字温湿度传感器实验
时间:2026-03-16
详解Arduino GY-30数字光强传感器应用
时间:2026-03-16
浅析数字传感器的现在与未来
时间:2026-03-16
浅析CC2530下ZigBee协议栈中添加BH1750数字...
时间:2026-03-16
自动大灯远近光原理 自动大灯正确使用方法
时间:2026-03-16
热电偶为什么要冷端补偿
时间:2026-03-16
ZMOD4410总挥发性有机物和室内空气质量传感...
时间:2026-03-16
矽睿科技完成B轮融资 成立新一届董事会
时间:2026-03-16
玻璃釉电容器的结构与特点
时间:2026-03-05
电阻的标称阻值和允许偏差
时间:2026-03-05
石英灯电子变压器电路原理
时间:2026-03-06
变压器并列运行的条件浅析
时间:2026-03-06
关于STM32WL LSE 添加反馈电阻后无法起振的...
时间:2026-03-05
可调电阻怎么接线
时间:2026-03-05
压敏电阻有正负极吗
时间:2026-03-05
碳膜电阻如何识别_金属膜电阻器和碳膜电阻器...
时间:2026-03-05
晶体三极管放大电路的非线形失真及其解决办...
时间:2026-03-07
怎样测试三极管的好坏,NPN三极管如何知道是...
时间:2026-03-07