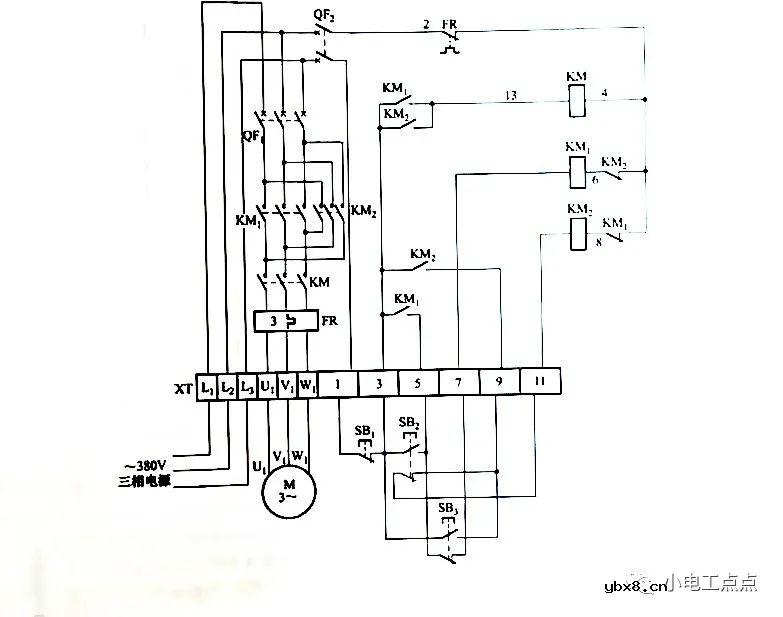
防止相间短路的正反转控制电路

首先合上主回路断路器QF、控制回路断路器QF2,为电路工作提供准备条件。
本电路与常用的具有按钮常闭触点互锁、接触器常闭触点互锁基本相同,不同的是分别利用KM或KM2各自的组辅助常开触点(3-13、3-13)来控制交流按触器KM的线圈回路电源,使其在选择好正转或反转之后再将KM投人进去,以此延长正反转选择后与电动机电源的转换时间,达到防止相间短路的目的。从主回路看,正转交流接触器KM1与反转交流接触器KM2是并联关系(但需换相), 再与交流接触器KM相串联,从电路中不难看出,正转时KM1先工作,KM再工作;反转时则KM2,先工作,KM再工作,以延长其转换时间。

正转启动
按下正转启动按钮SB2,SB2的一组常闭触点(9-11) 断开,切断反转交流接触器KM1线圈回路电源,起到互锁作用;SB2 的另外一组常开触点 (3-5) 闭合,接通正转交流接触器KM线圈回路电源,KM1线圈得电吸合且KM1辅助常开触点(3-5) 闭合自锁,KM1三相主触点先闭合(说明正转选择已完成),同时KM1辅助常开触点(3-13)闭合,再接通延长转换时间用交流接触器KM线圈回路电源,KM三相主触点紧跟着也闭合(就是利用KM1与KM之间的转换时间来防止相间短路事故的发生),这时电动机绕组才会得到三相交流380V电源而正常运转。

反转启动
当电动机处于正转运转后,需进行反转启动时,不需按下停止按钮SB; (1-3),直接按动反转启动按钮SB3,SB3的一.组常闭触点(5-7)断开,切断正转交流接触器KM线圈回路电源,KM1线圈断电释放,KM1三相主触点断开,电动机失电正转停止运转;与此同时,延长转换时间用交流接触器KM线圈也断电释放,KM三相主触点断开,为下一次重新工作做准备。在按下反转启动按钮SB3的同时,SB3的另外一组常开触点 (3-9)闭合,接通反转交流接触器KM2线圈回路电源,KM2线圈得电吸合且KM2辅助常开触点(3-9)闭合自锁,KM2三相主触点闭合(说明反转选择已完成,此时因延长转换时间用交流接触器KM动作滞后于KM2,所以在KM2先闭合时是不带负载的,不会出现正反转换相时的弧光相间短路问题),同时KM2辅助常开触点(3-13) 闭合,再接通延长转换时间用交流接触器KM线圈回路电源,KM三相主触点紧跟着也闭合,给电动机提供三相交流380V电源,这时电动机绕组得电反转运转。
注意,当电动机处于反转运转后,需进行正转启动时,与反转启动操作相同。
审核编辑:汤梓红
相关热词:#电路图
开关三极管的使用和连接 浅谈开关三极管的使...
时间:2026-03-07
三极管各种封装的引脚顺序你知道多少 浅谈三...
时间:2026-03-07
直插三极管封装/封装尺寸/引脚
时间:2026-03-07
三极管贴片和直插的区别 浅谈贴片三极管种类...
时间:2026-03-07
常见的贴片三极管丝印及参数介绍 浅谈贴片三...
时间:2026-03-07
三极管中2TY和J3Y是什么意思 有什么区别
时间:2026-03-07
j3y贴片三极管引脚及参数介绍
时间:2026-03-07
pnp贴片三极管管脚图及管脚排列 浅谈pnp与n...
时间:2026-03-07
贴片三极管有哪些封装 浅谈贴片三极管的选型
时间:2026-03-07
8050NPN型三极管引脚的排列方法 浅谈8050三...
时间:2026-03-07
彩灯电路
时间:2026-03-05
电动机单线远程正反转控制电路图
时间:2026-03-04
三相异步电动机原理
时间:2026-03-04
三相异步电动机的拆装详讲
时间:2026-03-04
USB转232电路图
时间:2026-03-04
三相异步电动机的七种调速方式
时间:2026-03-04
转角测量电路
时间:2026-03-05
经典的正弦波发生电路
时间:2026-03-05
电度表的工作原理
时间:2026-03-04
电风扇红外遥控器2
时间:2026-03-04