电路功能与优势
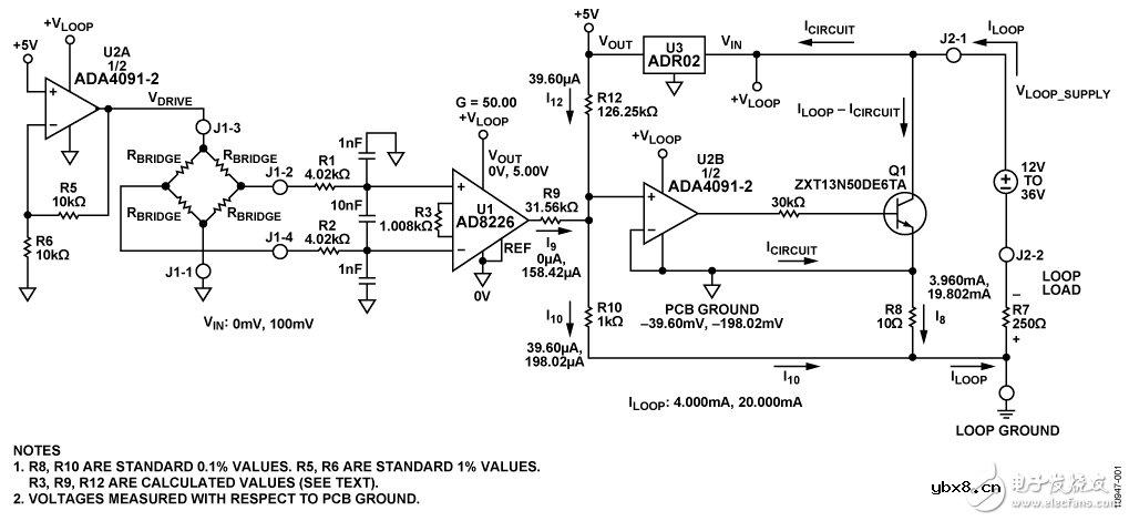
图1所示电路是一款鲁棒且灵活的环路供电电流变送器,可将压力传感器的差分电压输出转换为4 mA至20 mA电流输出。
该设计针对各种桥式电压或电流驱动型压力传感器而优化,仅使用了4个有源器件,总不可调整误差低于1%。环路电源电压范围为12 V至36 V。
该电路的输入具有ESD保护功能,并且可提供高于供电轨的电压保护,是工业应用的理想选择。

图1. 鲁棒的环路供电压力传感器信号调理电路,具有4 mA至20 mA输出
(显示为传感器电压驱动模式),原理示意图:未显示所有连接和去耦
相关热词:
浅析串联电路和并联电路中的电流、电压的规...
时间:2026-03-07
串并联电路的特点与识别串并联电路的四种方...
时间:2026-03-07
555定时器的电路结构与功能,由555定时器实...
时间:2026-03-07
由555定时器组成的单稳态触发器
时间:2026-03-07
555定时器解析,555定时器的工作模式及其应...
时间:2026-03-07
集成555时基电路解析,555时基集成电路与NE...
时间:2026-03-07
555内部电路结构与万用表测试555芯片的性能
时间:2026-03-07
MOS管驱动电路的基础总结
时间:2026-03-07
串扰和反射能让信号多不完整
时间:2026-03-07
二次回路电路原理图及讲解(一)——电路天...
时间:2026-03-07
彩灯电路
时间:2026-03-05
三相异步电动机原理
时间:2026-03-04
三相异步电动机的七种调速方式
时间:2026-03-04
转角测量电路
时间:2026-03-05
经典的正弦波发生电路
时间:2026-03-05
电动机单线远程正反转控制电路图
时间:2026-03-04
三相异步电动机的拆装详讲
时间:2026-03-04
USB转232电路图
时间:2026-03-04
电度表的工作原理
时间:2026-03-04
电风扇红外遥控器2
时间:2026-03-04