电工问答2026-03-06
什么是准立体声/立体声? 准立体声声卡的基本概念就是:在录制声音的时候采用单声道,而放音有时是立体声,有时是单声道。采用这种技术的声卡也曾在市面上流行过一段时间,但现在已经销声匿迹了。
电工问答2026-03-06
什么是采样的频率/采样的位数? 采样频率是指录音设备在一秒钟内对声音信号的采样次数,采样频率越高声音的还原就越真实越自然。在当今的主流声卡上,采样频率一般共分为22.05KHz、44.1KHz、48KHz三个等级,22.0
电工问答2026-03-06
什么是内存段/DMA 像I/O地址一样,一些设备在主内存中分配有地址。当你安装这样的设备时,实际上也插了一块内存模块(主内存,不是I/O内存)。这段内存被设备和CPU共享(运行设备驱动程序后)。这块内存意味着设备
什么是IRQ
电工问答2026-03-06
什么是IRQInterrupt ReQuest(中断请求)。电脑上需要连接很多设备,如声卡、打印机、Modem等。这些设备可以通过中断请求的方式与CPU进行数据交换。当一个设备需要CPU来处理它的数据时,可以向CPU发出中断请求信号
电工问答2026-03-06
什么是I/O地址 I/O地址中I是input的简写,O是output的简写,也就是输入输出地址。每个设备都会有一个专用的I/O地址(如图 ),用来处理自己的输入输出信息。因此这是绝对不能够重复的。如果这两个资源有了冲突,系
电工问答2026-03-06
什么是主板/采样频率/位数 主板:英文\"mainboard\"它是电脑中最大的一块电路板,是电脑系统中的核心部件,它的上 面布满了各种插槽(可连接声卡/显卡/MODEM/等)、接口(可连接鼠标/ 键盘等)、电子元件, 它们
电工问答2026-03-06
什么是CMOS/PnP CMOS指互补金属氧化物半导体——一种大规模应用于集成电路芯片制造的原料。有时人们会把CMOS和BIOS混称,其实CMOS是主板上的一块可读写RAM芯片,是用来保存BIOS的硬件配置和用户对某些参数的设定。
电工问答2026-03-06
什么是音源/波表升级子卡? 数码音源 音源:从字面意思理解就是声音的来源,即声音来自何方。它主要把声音完全准确地表现出来。分为两种形式,外置式,它不受声卡的制约,声音的质量能很好的保存下来,但是成本要
电工问答2026-03-06
什么是DAC/单声道? DAC:电脑对声音这种信号不能直接处理,先把它转化成电脑能识别的数字信号,就要用到声卡中的DAC(数字/模拟转换),它把声音信号转换成数字信号,要分两步进行,采样和转换。
电工问答2026-03-06
四声道环绕的发展历程 声卡所支持的声道数是衡量声卡档次的重要指标之一,从单声道到最新的环绕立体声,下面一一详细介绍:
电工问答2026-03-06
SD卡简介 SD卡具有体积小、容量大、抗震防潮、耐高温、性能稳定、永久有效保存数据、无噪音、无寻道错误特点。是现今流行的主流产品存储卡。 本转接卡是让你用具有此优越性的SD卡接在标准的ATA IDE接口上,当
电工问答2026-03-06
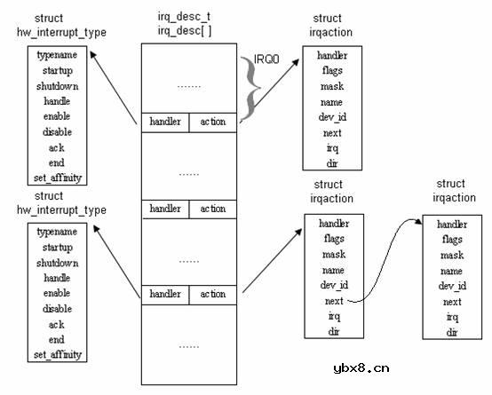
什么是中断 Linux 内核需要对连接到计算机上的所有硬件设备进行管理,毫无疑问这是它的份内事。如果要管理这些设备,首先得和它们互相通信才行,一般有两种方案可实现这种功能:
Linux 2.6 中断处理原理简介
电工问答2026-03-06
Linux 2.6 中断处理原理简介 中断描述符表(Interrupt Descriptor Table,IDT)是一个系统表,它与每一个中断或异常向量相联系,每一个向量在表中存放的是相应的中断或异常处理程序的入口地址。内核在允许中断发生
电工问答2026-03-06
什么是Sound Font/DLS? Sound Font:是新加坡创新公司在中档声卡上使用的音色库技术。它是用字符合成的,一个Sound Fond表现出一组音乐符号。用MIDI键盘输入乐符时,会自动记下MIDI的参数,最后在Sound Fond中查
电工问答2026-03-06
什么是“软”波表技术/合成技术? “软”波表技术:它是软件的形式(声卡中WAVE TABLE存放在硬盘中,用的时候CPU调出)代替WAVE TABLE。
电工问答2026-03-06
什么是声卡/信噪比? 声卡 (Sound Card):顾名思义,就是发声的卡片,它象人喉咙中的声带一样,有了它就能发出声音,就能交流,你还可以唱歌。声卡在电脑中的作用也是这样,它可以实现人机交流,如学习外语,语音
物联网在医院的运用方案
时间:2026-03-06
大数据是怎样颠覆医学的
时间:2026-03-06
可穿戴技术的面纱后面是什么
时间:2026-03-06
医疗物联网支撑下医院管理模式解决方案
时间:2026-03-06
物联传感智能医院设计
时间:2026-03-06
如何正确的选择物联网通讯技术
时间:2026-03-06
立功科技的物联网云端平台型服务系统的优势...
时间:2026-03-06
老年人独立生活物联网解决方案
时间:2026-03-06
工业互联网的安全研究与实践
时间:2026-03-06
怎样利用物联网RFID技术来推动石油行业发展
时间:2026-03-06
瞬间抑制二极管(TVS)/瞬间抑制二极管(TVS)是...
时间:2026-03-04
什么是霍尔传感器
时间:2026-03-05
半导体材料的主要种类有哪些?
时间:2026-03-04
高级封装,高级封装是什么意思
时间:2026-03-04
数字比较器,数字比较器是什么意思
时间:2026-03-04
常用整流二极管型号大全
时间:2026-03-04
S/HS固态继电器原理简介
时间:2026-03-04
稳压二极管的选用和代换
时间:2026-03-04
TVS器件的电特性有哪些
时间:2026-03-04
TVS二极管的分类/应用,TVS二极管的特点/选用...
时间:2026-03-04