一、必要性
XG-500型X线机的管电压控制采用双向主可控硅控制高压初级的通断,具有在电源电压零相位附近接通、断开摄影高压初级电路的特点。当1只或2只主可控硅击穿、短路或误导通时,再用该机进行摄影,将导致X线机高压部件损坏。因此,我们对XG-500型X线机高压初级电路及以前增设主可控硅击穿保护电路的方法进行分析研究,发现以往增设的主可控硅击穿保护电路[1-3],在1只或2只主可控硅击穿、短路或误导通时,按下摄影手闸后,X线机仍能瞬间曝光,还可能导致高压部件损坏,为此笔者向同行介绍一种改进主可控硅损坏保护电路的新方法。

图1 原高压初级电路
二、改进前工作原理简述(图1)
按下摄影手闸,摄影高压接触器SC工作,触点SC1闭合,经过0.8秒延时,双向主可控硅3CT1、3CT2在交流电零相位附近获得触发信号,主可控硅导通,高压变压器初级GYB1线圈得电,X线机曝光开始。经限时器限时,3CT1、3CT2在交流电过零时截止,曝光结束。松开曝光手闸SC失电,SC1打开。
高压变压器GYB1得电回路是:031→GYB1→032→3CT1、3CT2→SC1→TRD→026。
三、改进材料、方法
将高压初级电路中高压接触器的常开接点SC1与双向主可控硅3CT1、3CT2前后次序对调(图2)。在SC1的前端加上8只2W15K电阻,1只0.5 A/500 V的整流硅桥及1只JQX-10(24 V)直流继电器,并将此继电器KBJ的一对常闭触点串接于保护继电器BJ线圈得电回路中(参见原机保护电路图)。
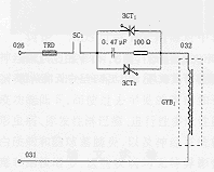
图2 改进后的高压初级电路
四、改进后的工作原理(图2)
当1只或2只主可控硅击穿、短路或误导通时,一开机,主可控硅损坏,保护继电器KBJ线圈便经中间继电器J3常闭触点得电,KBJ常闭触点打开,使保护继电器BJ线圈不得电,BJ3常开触点不闭合,以保证即使按下摄影手闸,高压接触器SC也不会得电工作,使摄影曝光无法进行,从而保证了X线机的安全。同时由于保护继电器BJ不工作,当预选的摄影条件不超载,过载继电器GJ工作时,过载指示灯持续点亮,以提醒操作者,主可控硅存在击穿、短路或误导通现象,应修复后方可使用。
正常情况下,主可控硅未击穿、短路或误导通时,开机后,KBJ不工作。按下摄影手闸,经0.8秒延时后,继电器J3工作,将KBJ继电器线圈得电回路切断,以保证主可控硅正常导通时,KBJ继电器也不工作,从而避免了对正常摄影曝光的影响。
五、小结
改进主可控硅损坏保护电路后,不会影响原机正常的摄影曝光工作程序。但当1只或2只主可控硅出现击穿、短路或误导通时,可使该机无法再次进行摄影曝光,以保证X线机的安全,并可通过过载指示灯持续点亮以提醒操作者,及时进行相应维修。此电路对正常曝光时造成的主可控硅击穿、短路无保护作用,但可在下一次曝光前起到保护作用,以防止X线机故障扩大而造成不应有的损失。
电感器设计流程和见解
时间:2026-05-01
什么是触发器?触发器的作用是什么?
时间:2026-05-01
什么是电源?电源是如何进行分类的?
时间:2026-05-01
电驱动NVH的特点和结构
时间:2026-05-01
什么是霍尔传感器?
时间:2026-05-01
电负性的计算方法
时间:2026-04-30
电导的定义_电导的单位_电导怎么算
时间:2026-04-30
什么是计数器_计数器的作用
时间:2026-04-30
什么是欧姆定律_欧姆定律公式
时间:2026-04-30
RAID是什么?RAID有哪些?
时间:2026-04-30
电阻的原理和作用 电阻色环识别图 电路中电...
时间:2026-03-09
什么是室温超导?半导体时代将走向结束?芯...
时间:2026-03-09
NVIDIA CPU+GPU超级芯片大升级!
时间:2026-03-09
半导体光刻工艺 光刻—半导体电路的绘制
时间:2026-03-09
什么是硅片或者晶圆?一文了解半导体硅晶圆
时间:2026-03-09
石英灯电子变压器电路原理
时间:2026-03-06
一文详解MOS管驱动电路拓扑的设计
时间:2026-03-09
汽车芯片业应汲取的教训
时间:2026-03-09
半导体行业之ICT技术简介
时间:2026-03-09
集成电路的几纳米代表了什么?
时间:2026-03-09