前面我们学习了8259A,但8259A 只适合单 CPU 的情况,为了充分挖掘 SMP 体系结构的并行性,能够把中断传递给系统中的每个 CPU 至关重要。基于此理由,Intel 引入了一种名为 I/O 高级可编程控制器的新组件,来替代老式的 8259A 可编程中断控制器。下面一起来学习一下APIC。
Intel从Pentium处理器开始引入了APIC(Advanced Programmable Interrupt Controller)机制,直译为高级可编程中断控制器。引入APIC机制是为了适应multiple processor(MP,多处理器)环境。
APIC经历了4个版本

最初的APIC属于外部设备,以外部的82489DX芯片形式存在。在P6家族和Pentium处理器后,以APIC on Chip形式存在,引入了处理器内部的local APIC架构,和82489DX 外部APIC相比较功能得到了扩展和增强。
Pentium 4和Intel Xeon处理器在APIC的基础上进一步扩展,形成了xAPIC体系,以及最后在xAPIC基础上再一次扩展的x2APIC体系。
每个logical processor(逻辑处理器)都有自己的local APIC,每个local APIC包括了一组local APIC寄存器,用来控制local和external中断的产生、发送和接收等,也产生和发送IPI(处理器间的中断消息)。local APIC寄存器组以内存映射形式映射到物理地址空间上,因此软件可以使用MOV指令进行访问。
然而在x2APIC模式上local APIC寄存器映射到MSR寄存器组来代替映射内存,软件使用RDMSR和WRMSR指令来访问local APIC寄存器。
如下所示,这是在支持Intel Hyper-Threading Technology的MP系统上,两个logical processor(线程)共享一个processor core执行单元。

每个local APIC有自己的local APIC ID,这个ID决定了logical processor在system bus上的地址,可以用于处理器间的消息接收和发送,也可用于外部中断消息的接收。
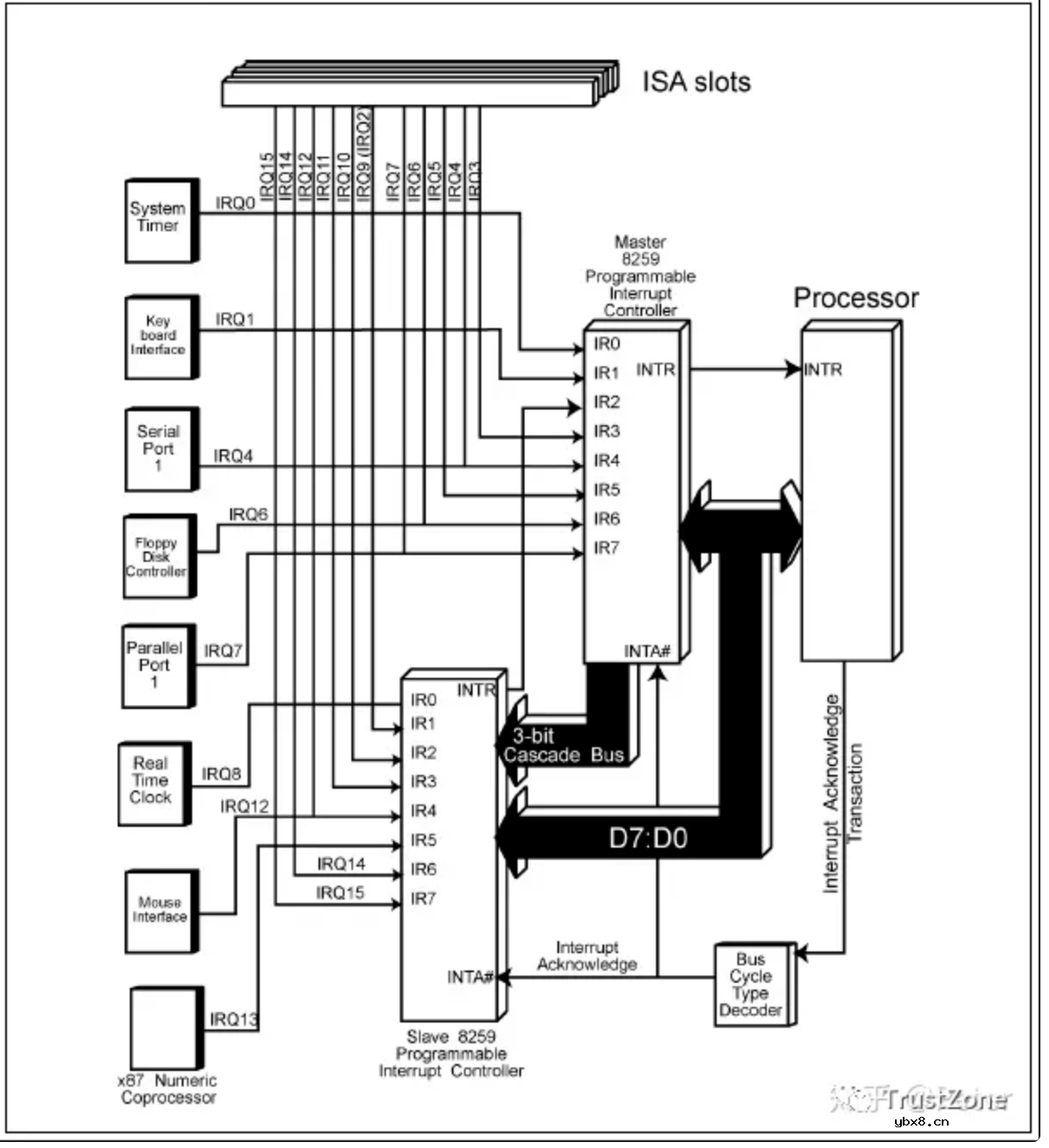
标准PC上两片级联的8259提供了理论上15个中断输入源,但实际系统中这些中断源远远不够用。
从Pentium开始,微机系统中引入了高级可编程中断控制器APIC(Advanced Programmable Interrupt Controller), APIC兼容PIC(Programmable Interrupt Controller)。
新型高级可编程中断控制器SAPIC(StreamLined Advanced Programmable Interrupt Controller)是APIC的64位升级版本。
APIC可以用于单CPU和多CPU系统中。 引入APIC一方面是为了支持多处理器系统需要 ,使外部中断能被有选择地交给某一个CPU来处理。
CPU利用处理器间中断IPI (Inter-Processor Interrupt),可以将一个外部中断交给另一个CPU来处理 ,也可以在CPU之间发布消息,或者实现抢占式调度。
多处理器系统中,CPU通过彼此发送中断来完成它们之间的通信。另一方面,扩展了系统可用的中断数达到24个,分隔了PCI/ISA设备使用的中断,在APIC系统中只有PCI设备才能使用16~23号中断,而ISA设备仍然使用常规的0~15号中断,解决了使用8259中断控制器所带来的中断共享、中断优先级不易控制等问题。
ISA总线: (Industry Standard Architecture:工业标准体系结构)是为PC/AT电脑而制定的总线标准,为16位体系结构,只能支持16位的I/O设备,数据传输率大约是16MB/S。也称为AT标准。ISA是IndustryStandardArchitecture的缩写ISA插槽是基于ISA总线(IndustrialStandardArchitecture,工业标准结构总线)的扩展插槽,其颜色一般为黑色,比PCI接口插槽要长些,位于主板的最下端。其工作频率为8MHz左右,为16位插槽,最大传输率16MB/sec,可插接显卡,声卡,网卡已及所谓的多功能接口卡等扩展插卡。其缺点是CPU资源占用太高,数据传输带宽太小,是已经被淘汰的插槽接口。
ISA是8/16bit的系统总线,最大传输速率仅为8MB/s,但允许多个CPU共享系统资源。由于兼容性好,它在上个世纪80年代是最广泛采用的系统总线,不过它的弱点也是显而易见的,比如传输速率过低、CPU占用率高、占用硬件中断资源等。后来在PC‘98规范中,就开始放弃了ISA总线,而Intel从i810芯片组开始,也不再提供对ISA接口的支持。
PCI-Express(peripheral component interconnect express)是一种高速串行计算机扩展总线标准,它原来的名称为“3GIO”,是由英特尔在2001年提出的,旨在替代旧的PCI,PCI-X和AGP总线标准。PCI总线已成为了计算机的一种标准总线。
PCI总线取代了早先的ISA总线。有许多优点,比如即插即用(Plug and Play)、中断共享等。所谓即插即用,是指当板卡插入系统时,系统会自动对板卡所需资源进行分配,如基地址、中断号等,并自动寻找相应的驱动程序。而不象旧的ISA板卡,需要进行复杂的手动配置。实际的实现远比说起来要复杂。
在PCI板卡中,有一组寄存器,叫"配置空间"(Configuration Space),用来存放基地址与内存地址,以及中断等信息。以内存地址为例。当上电时,板卡从ROM里读取固定的值放到寄存器中,对应内存的地方放置的是需要分配的内存字节数等信息。
操作系统要根据这个信息分配内存,并在分配成功后把相应的寄存器中填入内存的起始地址。这样就不必手工设置开关来分配内存或基地址了。对于中断的分配也与此类似。ISA卡的一个重要局限在于中断是独占的,而我们知道计算机的中断号只有16个,系统又用掉了一些,这样当有多块ISA卡要用中断时就会有问题了。PCI总线的中断共享由硬件与软件两部分组成。
硬件上,采用电平触发的办法:中断信号在系统一侧用电阻接高,而要产生中断的板卡上利用三极管的集电极将信号拉低。这样不管有几块板产生中断,中断信号都是低;而只有当所有板卡的中断都得到处理后,中断信号才会回复高电平。
软件上,采用中断链的方法:假设系统启动时,发现板卡A用了中断7,就会将中断7对应的内存区指向A卡对应的中断服务程序入口ISR_A;然后系统发现板卡B也用中断7,这时就会将中断7对应的内存区指向ISR_B,同时将ISR_B的结束指向ISR_A。
以此类推,就会形成一个中断链。而当有中断发生时,系统跳转到中断7对应的内存,也就是ISR_B。ISR_B就要检查是不是B卡的中断,如果是,要处理,并将板卡上的拉低电路放开;如果不是,则呼叫ISR_A。这样就完成了中断的共享。咱们继续
值得注意的是,只有Windows 2000以后的操作系统才支持APIC, Linux可以支持但需要定制,缺省安装并不支持。
BIOS运行于实模式,不支持APIC, APIC只有在保护模式下才能使用。 (因此8259A)
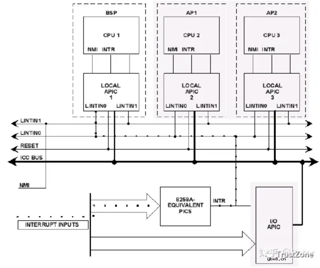
整个APIC系统可以分为两大部分:LAPIC(Local APIC)和IO APIC,如图23所示。

单核或者多核情况下,每个处理器中都有自己的LAPIC,而IO APIC是作为系统芯片组中一部分,在PCI-to-ISA bridge的LPC控制器内,系统最多有8个IO APIC。
LAPIC通过系统总线接收该处理器产生的本地中断(例如时钟中断等)及处理器间中断,并接收外部的中断消息,如来自IO APIC的消息等。
IO APIC负责接收所有外部的硬件中断,并翻译成消息选择发给接收中断的处理器。
APIC功能可以被关闭。 APIC被关闭时,由集成在芯片组内的8259功能模块来处理中断 , 此时LAPIC的引脚LINT0连接到INTR, LINT1连接到NMI 。本节介绍的APIC以Pentium 4和Xeon为主,Pentium采用的APIC有所不同。

典型地,8259兼容类的legacy中断控制器是在uni-processor(单处理器)系统上使用,已不能适应于多处理器环境,而I/O APIC能适用于multi-porcessor(多处理器)环境上。
I/O APIC可以发送中断消息到指向的logical processor上。I/O APIC属于芯片组的一部分,现称为PCH(Platform controller Hub),位于PCIto-ISA bridge(南桥芯片)的LPC控制器上。
各芯片组厂商的南桥名称都有所不同,例如英特尔称之为I/O路径控制器(ICH,IO Controller Hub)或平台路径控制器(PCH)。因此后面看着叫PCH也不需要奇怪哦!!!
I/O APIC也有自己的寄存器,同样也以内存映射形式映射到物理地址空间上。
LAPIC(Local APIC,本地APIC)包含了8259和8254的功能。
Intel 8253/8254是一个可编程定时/计数器(PIT-Programmable Interval Timer)芯片,用于处理计算机中的精确时间延迟。该芯片提供了 3个独立的16位计数器通道。每个通道可工作在不同的工作方式下, 并且这些工作方式均可以使用软件来设置。对于PC/AT及其兼容微机系统采用的是8254芯片。Linux 0.11操作系统只对通道0进行了重新设置,使得该计数器工作在方式3下,并且每间隔10毫秒发出一个信号以产生中断请求信号(IRQ0)。这个间隔定时产生的中断请求就是Linux 0.11内核工作的脉搏,它用于定时切换当前执行的任务和统计每个任务使用的系统资源量(时间)。
它能响应以下几种中断:
从P6系列处理器开始,可以用特殊命令CPUID探测LAPIC的存在。如执行以下命令:
MOV EAX, 1CPUID
返回值在EDX寄存器中,当返回值第9位为1时,表示本地APIC存在,否则表示不存在。
下面简要介绍LAPIC的相关机制。
本地APIC的中断发布方式分为静态和动态两种。
在静态方式下,根据重定向表中的信息,中断消息无条件地提交给某一个、几个或全部CPU;
在动态方式下,中断消息通过TPR (Task Priority Register)判断提交给最低优先权的CPU或焦点CPU(已接收或正在处理该中断)。
如果有多个CPU都执行相同优先级的进程,则必须采用仲裁(Arbitration)技术。

在多CPU系统中,只能有一个引导处理器。
本地APIC寄存器是多个寄32_APIC_BASE指定,使用4KB存储器空间。
默认情况下,Intel将LAPIC的寄存器都映射到了物理地址0xFEE00000H。
本地APIC寄存器长度为32位、64位或者256位,所有地址边界按照16字节即128位为边界来访问。APIC地址映射见表如下

偏移为320H~370H的6个本地APIC寄存器构成局部向量表LVT(Local Vector Table) ,分别代表6种中断:
LVT中各个寄存器的格式如图25所示。

局部向量表LVT
一共有5种提交模式,见表如下。

当提交模式等于000B时,CPU读取LVT中的低8位作为中断向量。
本地APIC中的计时器相关寄存器包括当前计数寄存器CCR、计数初值寄存器CR和除数寄存器DCR。
给CR寄存器赋值时,初始值装入CCR, CCR的值按一定频率递减,递减的频率等于系统总线频率除以刻度系数。刻度系数由DCR确定。CCR的值递减到0时,向处理器提交计时器中断。
当计时器采用单次模式(循环位等于0)时 ,提交计时器中断后,CCR的值一直保持为0,直到向CR寄存器装入新的初值。采用循环模式时,提交计时器中断后,CR的值重新到CCR,继续递减。计数过程中若初始计数寄存器被重置了,则将使用新的初始计数值,重新开始计数。
通过写入ICR寄存器,CPU可以向自身或者其他CPU发布处理器间中断IPI。ICR寄存器为64位,低32位的地址为FEE00300H,高32位的地址为FEE00310H。
ICR的主要功能包括:发送一个中断给另外一个处理器;允许处理器转发它收到的一个中断,但不对另一个处理器的请求提供服务 ;把处理器定向到中断本身,即执行一次自我中断;传送特定的IPI,比如启动IPI(SIPI)消息,到其他处理器。
ICR寄存器格式如图26所示。

ICR寄存器中,D13、D16、D17、D20~D55均保留。其他位含义如下:

* 集群模式:Pentium CPU支持平面集群模式和层次集群模式,而Pentium 4只支持层次集群模式。在层次集群模式下,在CPU的外部还必须设置专门的集群管理设备,支持最多15个集群,每个集群上最多连接4个APIC,每个集群使用单独的APIC或系统总线。例9.14 假设三个CPU的logical模式配置为:CPU 1的LDR值为00000001b, CPU 2的LDR值为00010010b, CPU3的LDR值为00000100b,此时DFR的model值为0000b。IO APIC发出一条中断消息,其Destination Mode为1, Destination field值为00000001b。试分析该中断消息由哪些CPU接收。解答:三个LAPIC收到该消息后,CPU1、CPU3通过Destination field的高4位判断出该消息目的地为本簇,再将自身Logical APIC ID的低4位与Destination field低4位进行位与操作,CPU1与结果不为0,故最终CPU1接收该中断消息,CPU2、CPU3丢弃。
* 当第63~56位为FFH时,消息广播给所有的APIC。
* 对于Pentium 4和Intel Xeon处理器来说,一个单个目的(本地APIC ID从00H到FEH)或对所有APIC的广播(APIC ID是FFH)都可能在物理模式下指定。
* 对于P6系列和Pentium处理器来说,一个单个目的是由具有从0H到0EH的本地APIC ID的物理目的传送模式指定的,允许APIC总线中访问多达15个本地APIC。对所有本地APIC的广播,是由0FH指定的。
* a.物理目标模式。每一个本地APIC都有唯一的APIC ID。在ICR寄存器的第63~56位中指定一个APIC ID,消息将发送给与它相同的另一个APIC。
* b.逻辑目标模式。使用逻辑目标模式发送IPI时,目标APIC可以采用平面模式和集群模式。本地APIC中有一个目标格式寄存器(Destination Format Register, DFR),如图27所示,它的高4位(第31~28位)等于1111B时,表示平面模式;等于0000B时,表示集群模式。

中断请求寄存器IRR共256位,地址为FEE00200H~FEE00270H;中断服务寄存器ISR也是256位,地址为FEE00100H~FEE00170H。
如果中断的提交模式为固定方式,中断请求寄存器IRR记录了本地APIC已经接收到的,但还没有指派给某一个CPU的中断。当CPU可以处理中断时,IRR中具有最高优先级的中断(即中断向量最大)对应的位被置为0,再将ISR中的对应位置为1。ISR中具有最高优先级的中断被发送给CPU进行处理。
在处理高优先级的中断时,如果发生了低优先级的中断,该中断的IRR位置为1。在高优先级的中断处理完成后,中断服务程序写入EOI寄存器,清除高优先级中断的ISR位。这时低优先级中断就会被处理。在处理某个优先级的中断时,如果发生了相同优先级的中断,该中断的IRR位置为1。前一个中断处理完成后,后面的中断才会被处理。在处理某个优先级的中断时,如果发生了更高优先级的中断,本地APIC可以向CPU发送中断,前一个中断被暂停,进入新的中断服务程序。这就是中断嵌套。
触发模式寄存器TMR也是256位。当中断的IRR位置为1时,边沿触发中断的TMR位清为0,电平触发中断的TMR位置为1。
任务优先权寄存器TPR的地址为FEE00080H,格式如图29所示。

处理器优先权寄存器PPR的地址为FEE000A0H,格式如图30所示。

中断优先权大于任务优先权时,中断才会被处理。
CPU通过设置任务优先权寄存器TPR,禁止低级别的中断。例如,把TPR中的第7~4位(任务优先权)设为15时,那么所有的外部中断(除NMI、SMI、INIT、ExtINT等)都会被屏蔽。而任务优先权设为0时,这些外部中断不被屏蔽。
处理器优先权寄存器不能被程序所修改,是一个只读寄存器。 它反映了当前CPU正在执行的程序的优先级。PPR的值是当前正在服务的中断向量和TPR二者之间较高的值。
设ISRV是ISR中被设置为1的最高优先权的中断向量,ISR中所有位等于0时,ISRV等于0。PPR按照以下公式来确定:
IF TPR[7∶∶4] ≥ ISRV[7∶∶4]THEN PPR[7∶∶0]=TPR[7∶∶0]ELSE PPR[7∶∶4]=ISRV[7∶∶4]; PPR[3∶∶0]=0
PCI 2.2规范中引入了消息信号中断MSI(Message Signaled Interrupts)。PCI设备可以用两种方法向CPU发出中断请求:
采用MSI向CPU发送中断请求时,PCI设备发起一个PCI写操作,向一个特殊的地址写入一个特定数据。地址的格式如图9-31所示,数据的格式如图32所示。


在地址中,目标ID指定了MSI消息发送给哪一个(组)CPU, RH说明是否要把消息发送给一组中具有最低优先权的CPU, DM则指示采用物理目标模式或者逻辑目标模式。
在数据部分,触发模式有边沿触发和电平触发两种,后者又分高电平有效和低电平有效。提交模式分为固定、最低优先级、SMI、NMI、INIT、ExtINT等几种。
IO APIC用来替代传统的8259中断控制器,一般集成在ICH芯片组中。
ICH(I/O controller hub意思是“输入/输出控制器中心”,负责连接PCI总线,IDE设备,I/O设备等,是英特尔的南桥芯片系列名称。
表7中列出了IO APIC管理下每个中断源对应的中断向量。

和8259相比,IO APIC能支持24个中断源,不需要中断应答周期,可以将中断请求发送给某一个指定的CPU。
IO APIC的中断优先权由中断向量来确定,与中断源(IRQ)无关。 (所以软件编程的时候这个中断向量的设置很需要注意,也更加体现了APIC的灵活性)
系统中最多可以拥有8个IO APIC,每一个IO APIC都分别有自己的输入编码,加起来一台PC上会有上百个IRQ可供设备中断使用。
IO APIC和LAPIC共同起作用,如果系统中没有IO APIC,那么LAPIC就没有用处,此时操作系统会使用8259。Intel系统中常用82093AA芯片来作为IO APIC。

一共有64个32位内部寄存器,其索引为0~63。内部寄存器索引见表9。

中断重定向表中的每一项都有可以被单独编程,用来指明中断向量和优先级、目标处理器及选择处理器的方式。
重定向表中的信息用于把每个外部IRQ信号转换为一条消息,然后通过APIC总线把消息发送给一个或者多个本地APIC单元。
重定向表的格式如图33所示。

目标ID确定哪一个(组)CPU处理这个中断。目标模式等于0时,即物理目标模式,目标ID的第59~56位表示某一个CPU的APIC ID;等于1时,即逻辑目标模式,目标ID的第53~56位与CPU中的逻辑APIC标识匹配,确定目标。
向CPU发送中断时,扩展目标ID(8位)被放置在地址的第11~4位。地址格式如上图所示。
屏蔽位等于1时,这个中断不会向CPU发送。触发模式分为边沿触发(D15=0)和电平触发(D15=1)两种,后者又分高电平有效(D13=0)和低电平有效(D13=1)。
在电平触发时,远程IRR位有效。等于1时,表示CPU的本地APIC已接受此中断,收到本地APIC发送的EOI后,将此位清0。相对于本地APIC和CPU核心而言,IO APIC和本地APIC之间的传递是远程的。
提交状态等于1时,表示中断消息已产生,但还没有发送给本地APIC。提交模式分为固定(000B)、最低优先级(001B)、SMI(010B)、NMI(100B)、INIT (101B)、ExtINT(111B)等几种。
最低优先级表示把这个中断按照目标ID提交给PPR最低的CPU。重定向表的第7~0位表示该中断对应的中断向量号,在表7中列出了某系统中各个IRQ对应的中断向量号。
以上就是对x86的中断有了一个简单的了解,后续我们接着来看看ARM的GIC。
这个名称的由来,是由于绘制架构图时所派生出来的称呼,第一次被提到这名词时是在1991年采用PCl Local Bus架构时。在Intel,PCl规格的创始者视PCI总线为整个PC平台架构的正中央。北桥芯片将PCl总线主干延伸至北边,以支持CPU、存储器或缓存(Cache)、以及其他攸关性能的功能。反之,南桥芯片将PCI总线主干延伸至南边,并桥接起比较非攸关性能的I/O功能,例如磁盘接口等、音效等。CPU位于架构图的正北方,它透过较高速的北桥芯片链接北边的系统设备,而北桥则透过较慢速的南桥芯片连接南边的其他系统设备。虽然现今PC平台架构已将PCl总线主干取代,换上更快的I/O主干,但“桥”的传统名称仍然延续使用。北桥(英语:Northbridge)是基于Intel处理器的个人电脑主板芯片组两枚芯片中的一枚,北桥用来处理高速信号,例如中央处理器、存储器、显卡(PCI Express接口或AGP接口),还有与南桥之间的通信。北桥芯片位置刚好跟南桥芯片位置相反,它是靠近CPU部分,被散热片覆盖的大的那块芯片,主要功能是负责控制、连接和处理CPU与内存、与南桥通信。北桥芯片是主板的关键芯片,负责管理二级高速缓存,内存的类型和最大容量都由它决定,所以一般主板命名都是用北桥芯片的型号。有一些北桥会集成内置显示核心(如Intel GMA),也支持AGP或PCl Express接口。集成显示核心的北桥若侦测到已安装的PCle/AGP显卡,会停止其GPU功能,但有些北桥可以允许同时使用集成式显卡和安装外加显卡,作为多显示输出。英特尔在第一代Core i7中把存储器控制器集成到了CPU,北桥的功能只剩下连接高速设备(如显卡),此时Intel的南桥称为IOH (Io Controller Hub)。从LGA 1156、LGA 2011开始,Intel处理器集成了北桥(存储器控制器、高速PCl Express控制器和Intel HDGraphics),主板上只剩下南桥,Intel将其称为平台路径控制器(PCH)。

APIC全称是Advanced Programmable Interrupt Controller,高级可编程中断控制器。
它是在奔腾P54C之后被引入进来的。在现在的计算机它通常由两个部分组成,分别为LAPIC(Local APIC,本地高级可编程中断控制器)和IOAPIC(I/O高级可编程中断控制器)。
LAPIC在CPU中,IOAPIC通常位于南桥 。
APIC是在PIC (Programmable Interrupt Controller) 的基础上发展而来的。
在传统的单处理器的PC-AT 兼容的机器,通常使用8259A双片级联组成Legacy中断控制器(如下图所示)。一共可以连接15个设备(有一个管脚被用于串联另一片8259)。PIC的优先级规则比较简单,0号管脚的优先级最高。
PIC可以通过ICW(Initialization CommandWord)编程设置起始的Vector号。

PIC在单个CPU的环境下工作的挺好,可是当系统越来越复杂出现了多个CPU的情况,它就没法很好的工作了。这种情况下所有的中断都会丢给主8259连接的那个CPU,那么这个CPU就要处理所有的中断,性能上就会有影响。在一个多处理器的系统,任何一个CPU都应该能够响应来自任何设备的中断,这种就是所谓的对称式多重处理(Symmetric Multiprocessing)

IOAPIC: IOAPIC的主要作用是中断的分发。最初有一条专门的APIC总线用于IOAPIC和LAPIC通信,在Pentium4 和Xeon 系列CPU出现后,他们的通信被合并到系统总线中。

Virtual Wire Mode:虚拟接线模式,该模式主要是为了向前兼容,可以理解为就是PIC。在这种模式下,IOAPIC会把8259A的模拟硬件产生的中断信号直接送给BSP。

如上图所示,每个CPU/Core中都有一个LAPIC。相比较于IOAPIC, LAPIC会更复杂一些,它不仅能够处理来自IOAPIC的中断消息,它还可以处理IPI(Inter-Processor Interrupt Messages),NMI,SMI和Init消息。
LAPIC 默认使用基地址FEE00000h开始的4KB空间用来访问内部寄存器,从Pentium Pro开始引入一个APIC_BASE 的MSR,可以用来设置基地址在任何4KB对齐的64GB内存地址空间。IRR:LAPIC已经收到中断但是还未提交CPU处理。ISR:CPU已经开始处理中断,但是尚未完成。TMR(Trigger Mode Register):中断的触发模式。EOI软件写入表示中断处理完成。
“歪果仁”经验之谈:高频PCB布线实践指南
时间:2026-03-21
各层各含义,技术详细PCB多层板
时间:2026-03-21
汽车智能化、电动化 PCB获机遇
时间:2026-03-21
PCB布线的那些小技巧,你都掌握了吗?
时间:2026-03-21
解析柔性PCB:单层FPC/双面FPC/多层FPC的区...
时间:2026-03-21
pcb爬电距离计算方法_pcb开槽爬电距离计算方...
时间:2026-03-21
PCB反向技术中的反推原理图研究
时间:2026-03-21
柔性电路板的特点及优缺点
时间:2026-03-21
什么是fpc柔性电路板_柔性电路板的发展前景
时间:2026-03-21
柔性电路板测试方法及标准
时间:2026-03-21
住宅小区负荷与变压器容量的选择技巧
时间:2026-03-06
光伏控制器简介
时间:2026-03-06
三极管的主要参数
时间:2026-03-07
HTCC:半导体封装的理想方式
时间:2026-03-06
变压器并列运行的条件浅析
时间:2026-03-06
半导体三极管的技术参数
时间:2026-03-07
电阻的标称阻值和允许偏差
时间:2026-03-05
石英灯电子变压器电路原理
时间:2026-03-06
玻璃釉电容器的结构与特点
时间:2026-03-05
碳膜电阻如何识别_金属膜电阻器和碳膜电阻器...
时间:2026-03-05