加速度传感器

HK-MR660系列多轴光纤加速度传感器系统为纯光学无源设计,为测量高压或危险环境中的振动和运动提供了创新的解决方案。
典型应用包括受电弓监测、风力涡轮机叶片、MRI、变压器、发电机、采矿和石油和天然气。如您有相关需要,欢迎随时联系我们!
产品介绍
HK-MR660系列多轴光纤加速度传感器
HK-MR660光纤加速度传感器系统设计用于在电子或机电传感器无法测量的区域来测量加速度(振动)。传感器纯粹是无源的,并在光学基础上工作,使不受 EMI、RFI、高压和磁场的影响。
l 3个轴
l 动态范围:0 – 50g
l 温度范围:-40°C - +200°C
l 传感器-控制器之间最远可达200米。
l IP68

工作原理

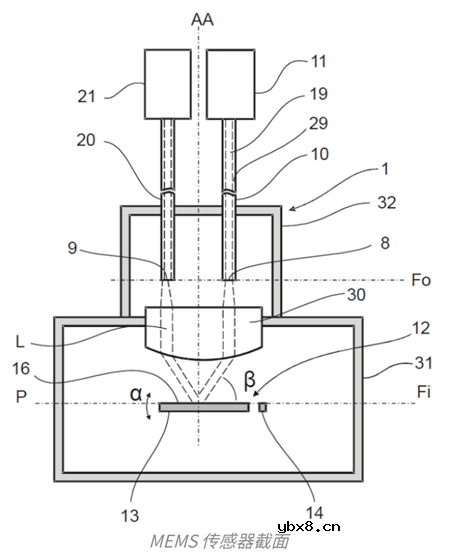
传感器的主要部分是一个带有反射面的MEMS。
入射光束通过棱镜被引导到反射镜上,以便让反射光束以尽可能高的强度耦合到返回光纤中。如果反射镜的水平位置 由于外部的加速度发生变化,反射光束的方向则会略微移动,且反射信号的强度会降低。
反射信号强度的下降与外部的加速度成正比。HK-MR660系列加速度传感器采用高度灵敏的 MEMS 膜来提供强大的系统,能够产生 100mV/g pk-pk 的输出信号,带宽为 0.5Hz 至1100Hz。
应用案例
受电弓加速度
发电机振动
变压器振动
叶片振动
用于测量高压环境或潜在爆炸性环境中的振动和运动。典型应用包括受电弓监测、 风力涡轮机叶片、MRI、变压器、发电机、采矿以及石油和天然气。
审核编辑:刘清
新型植入式气体传感器问世,可在人体内溶解
时间:2026-03-16
美国康奈尔大学官网
时间:2026-03-16
差压传感器的典型应用_差压传感器的安装
时间:2026-03-16
建筑物中的物联网传感器可以做什么?
时间:2026-03-16
物位传感器有哪些_物位传感器的实际应用
时间:2026-03-16
物位传感器的工作原理_物位传感器的特点
时间:2026-03-16
陀螺仪传感器的分类_陀螺仪传感器有什么用
时间:2026-03-16
模糊传感器的结构_模糊传感器的应用
时间:2026-03-16
小米重磅发布人体传感器2
时间:2026-03-16
中小企业受困 CIS 芯片缺货
时间:2026-03-16
玻璃釉电容器的结构与特点
时间:2026-03-05
电阻的标称阻值和允许偏差
时间:2026-03-05
石英灯电子变压器电路原理
时间:2026-03-06
变压器并列运行的条件浅析
时间:2026-03-06
关于STM32WL LSE 添加反馈电阻后无法起振的...
时间:2026-03-05
可调电阻怎么接线
时间:2026-03-05
压敏电阻有正负极吗
时间:2026-03-05
碳膜电阻如何识别_金属膜电阻器和碳膜电阻器...
时间:2026-03-05
晶体三极管放大电路的非线形失真及其解决办...
时间:2026-03-07
怎样测试三极管的好坏,NPN三极管如何知道是...
时间:2026-03-07