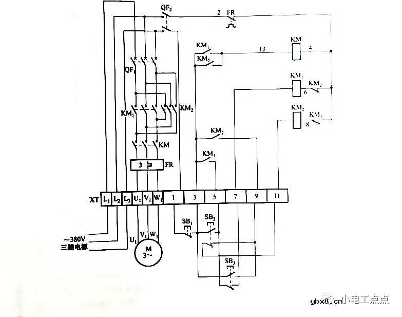
防止相间短路的正反转控制电路

首先合上主回路断路器QF、控制回路断路器QF2,为电路工作提供准备条件。
本电路与常用的具有按钮常闭触点互锁、接触器常闭触点互锁基本相同,不同的是分别利用KM或KM2各自的组辅助常开触点(3-13、3-13)来控制交流按触器KM的线圈回路电源,使其在选择好正转或反转之后再将KM投人进去,以此延长正反转选择后与电动机电源的转换时间,达到防止相间短路的目的。从主回路看,正转交流接触器KM1与反转交流接触器KM2是并联关系(但需换相), 再与交流接触器KM相串联,从电路中不难看出,正转时KM1先工作,KM再工作;反转时则KM2,先工作,KM再工作,以延长其转换时间。

正转启动
按下正转启动按钮SB2,SB2的一组常闭触点(9-11) 断开,切断反转交流接触器KM1线圈回路电源,起到互锁作用;SB2 的另外一组常开触点 (3-5) 闭合,接通正转交流接触器KM线圈回路电源,KM1线圈得电吸合且KM1辅助常开触点(3-5) 闭合自锁,KM1三相主触点先闭合(说明正转选择已完成),同时KM1辅助常开触点(3-13)闭合,再接通延长转换时间用交流接触器KM线圈回路电源,KM三相主触点紧跟着也闭合(就是利用KM1与KM之间的转换时间来防止相间短路事故的发生),这时电动机绕组才会得到三相交流380V电源而正常运转。

反转启动
当电动机处于正转运转后,需进行反转启动时,不需按下停止按钮SB; (1-3),直接按动反转启动按钮SB3,SB3的一.组常闭触点(5-7)断开,切断正转交流接触器KM线圈回路电源,KM1线圈断电释放,KM1三相主触点断开,电动机失电正转停止运转;与此同时,延长转换时间用交流接触器KM线圈也断电释放,KM三相主触点断开,为下一次重新工作做准备。在按下反转启动按钮SB3的同时,SB3的另外一组常开触点 (3-9)闭合,接通反转交流接触器KM2线圈回路电源,KM2线圈得电吸合且KM2辅助常开触点(3-9)闭合自锁,KM2三相主触点闭合(说明反转选择已完成,此时因延长转换时间用交流接触器KM动作滞后于KM2,所以在KM2先闭合时是不带负载的,不会出现正反转换相时的弧光相间短路问题),同时KM2辅助常开触点(3-13) 闭合,再接通延长转换时间用交流接触器KM线圈回路电源,KM三相主触点紧跟着也闭合,给电动机提供三相交流380V电源,这时电动机绕组得电反转运转。
注意,当电动机处于反转运转后,需进行正转启动时,与反转启动操作相同。
审核编辑:汤梓红
相关热词:#电路图
影响介电常数的因素有哪些?
时间:2026-04-22
关于电流互感器基础知识介绍
时间:2026-04-22
开关电源的工作原理及特性
时间:2026-04-22
绝缘栅双极型晶体管(IGBT)外形、等效结构与...
时间:2026-04-22
信噪比(SNR)的定义,如何计算信噪比
时间:2026-04-22
波特率是什么意思_怎样计算波特率
时间:2026-04-21
RS485基本知识介绍
时间:2026-04-18
什么是激光雷达?激光雷达的构成与分类
时间:2026-04-18
Excelpoint - 一文了解SiC MOS的应用
时间:2026-04-18
什么是磁电阻器?磁电阻特性及应用
时间:2026-04-18
基于逻辑门的构成解释如何完成任意逻辑的管...
时间:2026-03-08
彩灯电路
时间:2026-03-05
NE555的有趣电路设计分享
时间:2026-03-08
三相异步电动机原理
时间:2026-03-04
光耦在电子电路中作用、关键参数详解
时间:2026-03-08
三相异步电动机的拆装详讲
时间:2026-03-04
从0学电路,万用表演示测量三极管方法
时间:2026-03-08
电动机单线远程正反转控制电路图
时间:2026-03-04
H桥电机驱动电路解析
时间:2026-03-08
转角测量电路
时间:2026-03-05