今天来读一篇来自于千禧年的文章,鄙人刚出来没有几个月的时候人家都可以写文章了,真厉害的呀!
假装崇拜
这篇文章叫:

这文章其实不简单,短短4页说了不少的干货。我们先看看啥是光电二极管!
这些就是光器件,日本滨松来自于

首选的应用就是化学分析

X光
滨松的官方有几个图好漂亮:

看这个图多漂亮,二极管得等效电路

这个是ADI的设计工具

里面会给出合适的器件

可以切换成双运放

一级放大,一级滤波或者再次增益

电路在光脉冲下的反应

噪音谱

接下来给出两个运放的连接,然后还有噪音什么的

BOM表
https://tools.analog.com/en/photodiode/

ADI的设计工具还是好用的。分别对应在二极管,电路设计,后处理。

有俩种模式

这个的就写的很明白了,之前没看明白

0偏置和反向偏置

给出的输出是10V,这样是相当于60dB的动态范围。

常见的信号链是这样的
第一级信号链: I-V转换,一般PGA都做在第一级,因为电阻的热噪声和电流噪声会直接出现在输出端,如果PGA做在后级,还会把前级的噪声进行放大,总的噪声会变大。 上面的MUX是切换档位的,可以设计成不同的放大倍数。 第二级信号链: 放大,根据客户具体信号的需求,可以省略。 第三级信号链: 滤波器,可以配置成低通,带通,高通,需要根据具体需求而定,位置可以调到第二级。 第四级信号链: ADC采样,根据具体需求选择ADC的精度和种类。

滨松给出了一些同轴电缆的链接方式

这里说明了单运放放大的好处

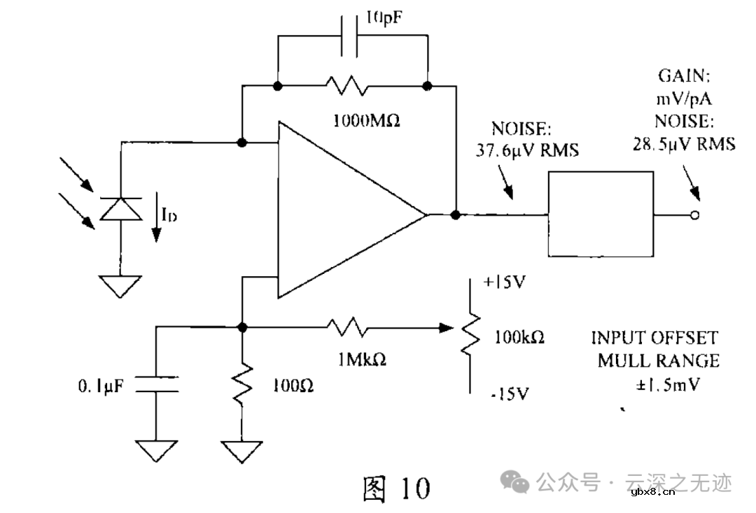
这里使用了AD795

给出了PCB设计的连接

数据手册里面有清晰的图

经典技术了可以说是

知道了


控制温度

给出的电路图

参数,过几天就打板做一个
审核编辑:刘清
波特率是什么意思_怎样计算波特率
时间:2026-04-21
RS485基本知识介绍
时间:2026-04-18
什么是激光雷达?激光雷达的构成与分类
时间:2026-04-18
Excelpoint - 一文了解SiC MOS的应用
时间:2026-04-18
什么是磁电阻器?磁电阻特性及应用
时间:2026-04-18
什么是电场?电场在电容器中的应用
时间:2026-04-18
什么是ARM64?
时间:2026-04-17
vga和hdmi的区别
时间:2026-04-17
什么是ESD?ESD及TVS的原理和应用
时间:2026-04-17
开关电源原理与维修完整版 (10)_标清视频
时间:2026-04-16
半导体光刻工艺 光刻—半导体电路的绘制
时间:2026-03-09
石英灯电子变压器电路原理
时间:2026-03-06
什么是室温超导?半导体时代将走向结束?芯...
时间:2026-03-09
什么是硅片或者晶圆?一文了解半导体硅晶圆
时间:2026-03-09
电阻的原理和作用 电阻色环识别图 电路中电...
时间:2026-03-09
北京理工大学实现了光导型向平面光伏型量子...
时间:2026-03-09
HTCC:半导体封装的理想方式
时间:2026-03-06
如何利用可扩展的柔性中间层制备超低模量电...
时间:2026-03-09
NVIDIA CPU+GPU超级芯片大升级!
时间:2026-03-09
光伏控制器简介
时间:2026-03-06