电子元件2026-03-06
控制变压器是利用电磁感应的原理来改变交流电压的装置,主要构件是初级线圈、次级线圈和铁芯(磁芯)。控制变压器与隔离变压器都是属于环形变压器的一种,那么这两者有什么区别呢?
电子元件2026-03-06
变圧器是利用电磁感应原理来改变交流电压的装置,主要构件是初级电感线圈、次级线圈和铁芯 (磁芯)。怎样来区分直流与交流电的办法有很多.今天小编给大家支一招!
电子元件2026-03-06
控制变压器烧毁原因 使用过控制变压器的朋友,可能会遇到这样的问题,那就是控制变压器冒烟烧毁掉。那么是什么原因导致这样的情况出现呢?其实,导致出现这样情况有很多,例如,使用不当,或者控制变压器
电子元件2026-03-06
说到逆变变压器,很多人其实还是不太了解的,其实在我们的日常生活中经常会接触到它,只是我们没留心而已。比如说家里的洗衣机、电视机、电脑、空调等等都存在有逆变变压器。通常我们使用它,而没有注意到这些
电子元件2026-03-06
直流变压器 直流变压器有两种基本类型,即输出稳压的DC-DC变换器和输出电压随输入调节的“直流变压器”。直流变压器和交流变压器类似,将一种直流电压变换成另一种或多种直流电压;通过高频斩波、变压器
电子元件2026-03-06
变压器是利用电磁感应原理做成的能改变电压的设备变压器有铁芯和线圈组成变压器线圈分初级线圈和次级线圈在初级线圈中通交流电时。变压器铁芯就产生了交变的磁场次级线圈就感应出与初级频率相同的交流电变压器
电子元件2026-03-06
高频变压器的原理 高频变压器是作为开关电源最主要的组成部分。开关电源中的拓扑结构有很多。比如半桥式功率转换电路,工作时两个开关三极管轮流导通来产生100kHz的高频脉冲波,然后通过高频变压器进行变
电子元件2026-03-06
电力变压器组成部分 电力变压器的主要附件部分有以下几部分。 1)吸潮器(硅胶筒):内装有硅胶,储油柜(油枕)内的绝缘油通过吸潮器与大气连通,干燥剂吸收空气中的水分和杂质,以保持变压器内部
电子元件2026-03-06
电力变压器的分类 电力变压器按用途分类:升压(发电厂6.3kV/10.5kV或10.5kV/110kV等)、联络(变电站间用220kV/110kV或110kV/10.5kV)、降压(配电用35kV/0.4kV或10.5kV/0.4kV)。
驱动电机旋转变压器
电子元件2026-03-06
旋转变压器用于运动伺服控制系统中,作为角度位置的传感和测量用。早期的旋转变压器其输出,是随转子转角作某种函数变化的电气信号,通常是正弦、余弦、线性等。作为角度位置传感元件,常用的有这样几种:光学编码
旋转变压器应用
电子元件2026-03-06
60年代起,旋转变压器逐渐用于伺服系统,作为角度信号的产生和检测元件。三线的三相的自整角机,早于四线的两相旋转变压器应用于系统中。随着电子技术和数字计算技术的发展,数字式计算机代替了模拟式计算机。
旋转变压器的结构
电子元件2026-03-06
旋转变压器用于运动伺服控制系统中,作为角度位置的传感和测量用。早期的旋转变压器用于计算解答装置中,作为模拟计算机中的主要组成部分之一。其输出,是随转子转角作某种函数变化的电气信号,通常是正弦、余弦、
旋转变压器的主要参数与性能指标
电子元件2026-03-06
随着大家对于稳压要求的提升,这些新型的稳压设备,也是逐渐走进了大家的生活。熟知大功率稳压器的朋友都知道,它是具有良好稳压特性的设备。这种大功率稳压设备主要是使用于大型的电力使用企业,或是具有稳压需要
电子元件2026-03-06
旋转变压器与编码器的区别 旋转变压器是一种输出电压随转子转角变化的信号元件。是采用电磁感应原理工作,随着旋转变压器的转子和定子角位置不同,输出信号可以实现对输入正弦载波信号的相位变换和幅值调制,最终
旋转变压器的种类
电子元件2026-03-06
旋转变压器一般结构类似于绕线型电动机,从不同的角度进行划分可得到不同的旋转变压器种类或名称。
旋转变压器的鉴相方式
电子元件2026-03-06
在伺服系统中,为了实现高精度的控制,往往需要实时地检测出电动机转子的位置。用来检测电动机转子位置的角度传感器主要有光电编码器和旋转变压器。光电编码器虽然能够达到很高的精度,但是它的抗干扰性差,不宜应
浅析基于SLAM的机器人自主定位导航
时间:2026-03-18
自动驾驶中基于网格的交通场景感知介绍
时间:2026-03-18
TMR磁传感器芯片有哪些特性?有哪些应用?
时间:2026-03-18
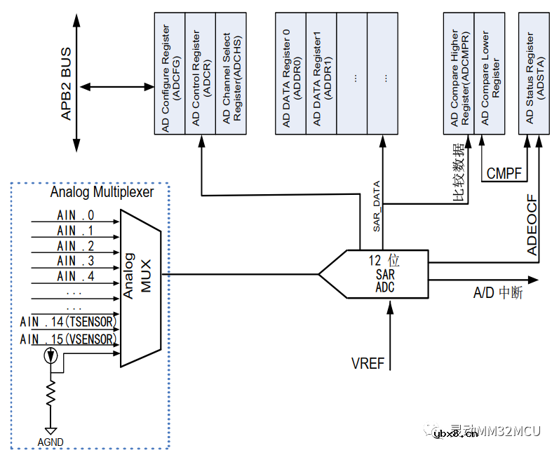
MM32F0163D7P的ADC内部1.2V参考电压的使用
时间:2026-03-18
微传科技推出汽车轮速传感器新品VCW1885/VC...
时间:2026-03-18
简述直线电机控制原理 直流电机控制实验
时间:2026-03-18
基于ASIC芯片的硬件神经元会如何改变人工智...
时间:2026-03-18
故障诊断方法有哪三种 CAN故障诊断方法介绍
时间:2026-03-18
西门子博途:控制室温的示例
时间:2026-03-18
利用微腔Fano共振实现硅基中红外片上气体传...
时间:2026-03-18
玻璃釉电容器的结构与特点
时间:2026-03-05
电阻的标称阻值和允许偏差
时间:2026-03-05
石英灯电子变压器电路原理
时间:2026-03-06
变压器并列运行的条件浅析
时间:2026-03-06
碳膜电阻如何识别_金属膜电阻器和碳膜电阻器...
时间:2026-03-05
三极管的主要参数
时间:2026-03-07
光伏控制器简介
时间:2026-03-06
关于STM32WL LSE 添加反馈电阻后无法起振的...
时间:2026-03-05
可调电阻怎么接线
时间:2026-03-05
压敏电阻有正负极吗
时间:2026-03-05