
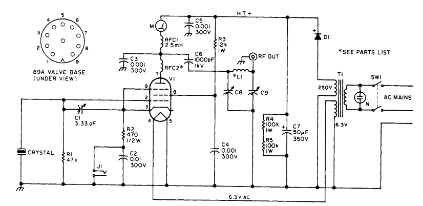
相关热词:#其它电路图
sata接口分几种_sata接口分类
时间:2026-05-13
GPRS对比CDMA有何区别
时间:2026-05-13
USB C和USB Type C的传输性能
时间:2026-05-13
什么是逆变器?逆变器与转换器有何不同?
时间:2026-05-13
ADC 位的作用
时间:2026-05-13
三段式电流保护的优缺点
时间:2026-05-12
热性能比较:ISO247 和 TO-247
时间:2026-05-12
什么是D类功放?
时间:2026-05-12
寄存器的作用
时间:2026-05-12
内存条有什么用 内存条的作用和功能
时间:2026-05-12
基于逻辑门的构成解释如何完成任意逻辑的管...
时间:2026-03-08
三相异步电动机原理
时间:2026-03-04
三相异步电动机的拆装详讲
时间:2026-03-04
彩灯电路
时间:2026-03-05
NE555的有趣电路设计分享
时间:2026-03-08
光耦在电子电路中作用、关键参数详解
时间:2026-03-08
详解RCD钳位电路
时间:2026-03-08
从0学电路,万用表演示测量三极管方法
时间:2026-03-08
电动机单线远程正反转控制电路图
时间:2026-03-04
美的电磁炉电路图大全(六款美的电磁炉电路...
时间:2026-03-07