当前位置:首页 > 电路图基础 > 正文

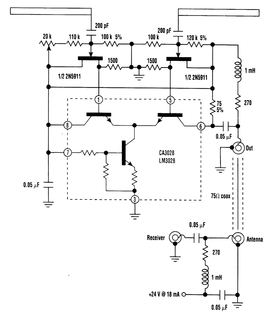
小型宽带天线(3至30兆赫)

来源:网络  发布者:电工基础  发布时间:2026-04-26 10:03

小型宽带天线(3至30兆赫)


短偶极天线和阻抗转换器结合在一起就可以旋转出一个干扰信号。该转换器提供了一个巨大的电流增益,使在偶极子输出的电压最终驱动一个75Ω的负载。


相关热词:#其它电路图

最新文章
sata接口分几种_sata接口分类sata接口分几种_sata接口分类

时间:2026-05-13

GPRS对比CDMA有何区别GPRS对比CDMA有何区别

时间:2026-05-13

USB C和USB Type C的传输性能USB C和USB Type C的传输性能

时间:2026-05-13

什么是逆变器?逆变器与转换器有何不同?什么是逆变器?逆变器与转换器有何不同?

时间:2026-05-13

ADC 位的作用ADC 位的作用

时间:2026-05-13

三段式电流保护的优缺点三段式电流保护的优缺点

时间:2026-05-12

热性能比较:ISO247 和 TO-247热性能比较:ISO247 和 TO-247

时间:2026-05-12

什么是D类功放?什么是D类功放?

时间:2026-05-12

寄存器的作用寄存器的作用

时间:2026-05-12

内存条有什么用 内存条的作用和功能内存条有什么用 内存条的作用和功能

时间:2026-05-12