前段时间,我连续写了十来篇CPU底层系列技术故事文章,有不少读者私信我让我写一下CPU的寄存器。
寄存器这个太多太复杂,不适合写故事,拖了很久,总算是写完了,这篇文章就来详细聊聊x86/x64架构的CPU中那些纷繁复杂的寄存器们。
长文预警,时速较快,请系好安全带~起飞~
自1946年冯·诺伊曼领导下诞生的世界上第一台通用电子计算机ENIAC至今,计算机技术已经发展了七十多载。
从当初专用于数学计算的庞然大物,到后来大型机服务器时代,从个人微机技术蓬勃发展,到互联网浪潮席卷全球,再到移动互联网、云计算日新月异的当下,计算机变的形态各异,无处不在。
这七十多年中,出现了数不清的编程语言,通过这些编程语言,又开发了无数的应用程序。
可无论什么样的应用程序,什么样的编程语言,最终的程序逻辑都是要交付给CPU去执行实现的(当然这里有些不严谨,除了CPU,还有协处理器、GPU等等)。所以了解和学习CPU的原理都是对计算机基础知识的夯实大有裨益。
在七十多年的漫长历程中,也涌现了不少架构的CPU。
MIPS
PowerPC
x86/x64
IA64
ARM
······
这篇文章就以市场应用最为广泛的x86-x64架构为目标,通过学习了解它内部的100个寄存器功能作用,来串联阐述CPU底层工作原理。
通过这篇文章,你将了解到:
CPU指令执行原理
内存寻址技术
软件调试技术原理
中断与异常处理
系统调用
CPU多任务技术
什么是寄存器?寄存器是CPU内部用来存放数据的一些小型存储区域,用来暂时存放参与运算的数据和运算结果以及一些CPU运行需要的信息。
x86架构CPU走的是复杂指令集(CISC) 路线,提供了丰富的指令来实现强大的功能,与此同时也提供了大量寄存器来辅助功能实现。这篇文章将覆盖下面这些寄存器:
通用寄存器
标志寄存器
指令寄存器
段寄存器
控制寄存器
调试寄存器
描述符寄存器
任务寄存器
MSR寄存器
通用寄存器首当其冲的是通用寄存器,这些的寄存器是程序执行代码最最常用,也最最基础的寄存器,程序执行过程中,绝大部分时间都是在操作这些寄存器来实现指令功能。
所谓通用,即这些寄存器CPU没有特殊的用途,交给应用程序“随意”使用。注意,这个随意,我打了引号,对于有些寄存器,CPU有一些潜规则,用的时候要注意。
eax: 通常用来执行加法,函数调用的返回值一般也放在这里面
ebx: 数据存取
ecx: 通常用来作为计数器,比如for循环
edx: 读写I/O端口时,edx用来存放端口号
esp: 栈顶指针,指向栈的顶部
ebp: 栈底指针,指向栈的底部,通常用ebp+偏移量的形式来定位函数存放在栈中的局部变量
esi: 字符串操作时,用于存放数据源的地址
edi: 字符串操作时,用于存放目的地址的,和esi两个经常搭配一起使用,执行字符串的复制等操作
在x64架构中,上面的通用寄存器都扩展成为64位版本,名字也进行了升级。当然,为了兼容32位模式程序,使用上面的名字仍然是可以访问的,相当于访问64位寄存器的低32位。
raxrbxrcxrdxrsprbprsirdi
除了扩展原来存在的通用寄存器,x64架构还引入了8个新的通用寄存器:
r8-r15
在原来32位时代,函数调用时,那个时候通用寄存器少,参数绝大多数时候是通过线程的栈来进行传递(当然也有使用寄存器传递的,比如著名的C++ this指针使用ecx寄存器传递,不过能用的寄存器毕竟不多)。
进入x64时代,寄存器资源富裕了,参数传递绝大多数都是用寄存器来传了。寄存器传参的好处是速度快,减少了对内存的读写次数。
当然,具体使用栈还是用寄存器传参数,这个不是编程语言决定的,而是编译器在编译生成CPU指令时决定的,如果编译器非要在x64架构CPU上使用线程栈来传参那也不是不行,这个对高级语言是无感知的。
标志寄存器标志寄存器,里面有众多标记位,记录了CPU执行指令过程中的一系列状态,这些标志大都由CPU自动设置和修改:
CF 进位标志
PF 奇偶标志
ZF 零标志
SF 符号标志
OF 补码溢出标志
TF 跟踪标志
IF 中断标志
······

在x64架构下,原来的eflags寄存器升级为64位的rflags,不过其高32位并没有新增什么功能,保留为将来使用。
指令寄存器eip: 指令寄存器可以说是CPU中最最重要的寄存器了,它指向了下一条要执行的指令所存放的地址,CPU的工作其实就是不断取出它指向的指令,然后执行这条指令,同时指令寄存器继续指向下面一条指令,如此不断重复,这就是CPU工作的基本日常。
而在漏洞攻击中,黑客想尽办法费尽心机都想要修改指令寄存器的地址,从而能够执行恶意代码。
同样的,在x64架构下,32位的eip升级为64位的rip寄存器。
段寄存器段寄存器与CPU的内存寻址技术紧密相关。
早在16位的8086CPU时代,内存资源宝贵,CPU使用分段式内存寻址技术:

16位的寄存器能寻址的范围是64KB,通过引入段的概念,将内存空间划分为不同的区域:分段,通过段基址+段内偏移段方式来寻址。
这样一来,段的基地址保存在哪里呢?8086CPU专门设置了几个段寄存器用来保存段的基地址,这就是段寄存器段的由来。
段寄存器也是16位的。
段寄存器有下面6个,前面4个是早期16位模式就引入了,到了32位时代,又新增了fs和gs两个段寄存器。
cs: 代码段
ds: 数据段
ss: 栈段
es: 扩展段
fs: 数据段
gs: 数据段
段寄存器里面存储的内容与CPU当前工作的内存寻址模式紧密相关。
当CPU处于16位实地址模式下时,段寄存器存储段的基地址,寻址时,将段寄存器内容左移4位(乘以16)得到段基地址+段内偏移得到最终的地址。
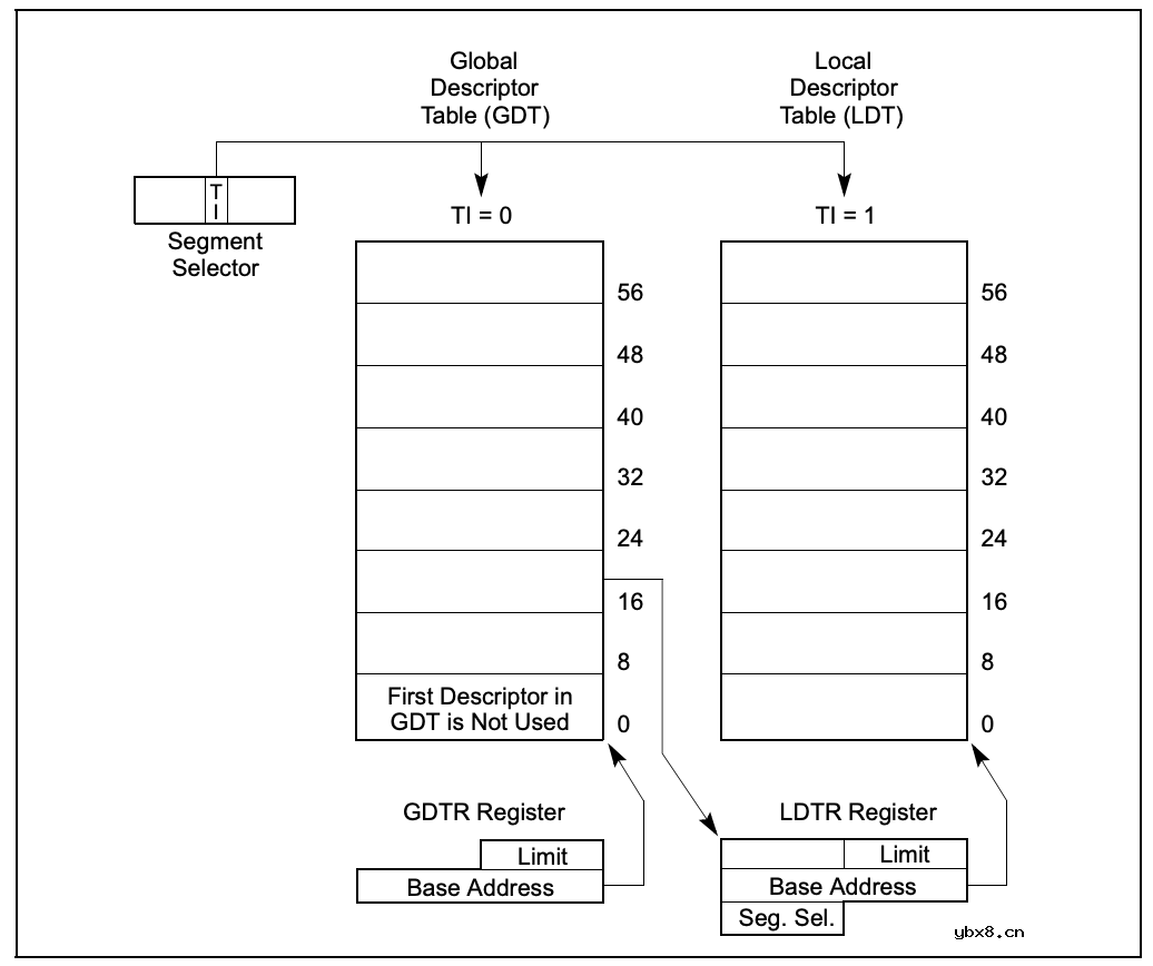
当CPU工作于保护模式下,段寄存器存储的内容不再是段基址了,此时的段寄存器中存放的是段选择子,用来指示当前这个段寄存器“指向”的是哪个分段。
注意我这里的指向打了引号,段寄存器中存储的并不是内存段的直接地址,而是段选择子,它的结构如下:

16个bit长度的段寄存器内容划分了三个字段:
PRL: 特权请求级,就是我们常说的ring0-ring3四个特权级。
TI: 0表示用的是全局描述符表GDT,1表示使用的是局部描述符表LDT。
Index: 这是一个表格中表项的索引值,这个表格叫内存描述符表,它的每一个表项都描述了一个内存分段。
这里提到了两个表,全局描述符表GDT和局部描述符表LDT,关于这两个表的介绍,下面介绍描述符寄存器时再详述,这里只需要知道,这是CPU支持分段式内存管理需要的表格,放在内存中,表格中的每一项都是一个描述符,记录了一个内存分段的信息。
保护模式下的段寄存器和段描述符到最后的内存分段,通过下图的方式联系在一起:

通用寄存器、段寄存器、标志寄存器、指令寄存器,这四组寄存器共同构成了一个基本的指令执行环境,一个线程的上下文也基本上就是这些寄存器,在执行线程切换的时候,就是修改它们的内容。

控制寄存器控制寄存器是CPU中一组相当重要的寄存器,我们知道eflags寄存器记录了当前运行线程的一系列关键信息。
那CPU运行过程中自身的一些关键信息保存在哪里呢?答案是控制寄存器!

32位CPU总共有cr0-cr4共5个控制寄存器,64位增加了cr8。他们各自有不同的功能,但都存储了CPU工作时的重要信息:
cr0: 存储了CPU控制标记和工作状态
cr1: 保留未使用
cr2: 页错误出现时保存导致出错的地址
cr3: 存储了当前进程的虚拟地址空间的重要信息——页目录地址
cr4: 也存储了CPU工作相关以及当前人任务的一些信息
cr8: 64位新增扩展使用
其中,CR0尤其重要,它包含了太多重要的CPU信息,值得单独关注一下:

一些重要的标记位含义如下:
PG: 是否启用内存分页
AM: 是否启用内存对齐自动检查
WP: 是否开启内存写保护,若开启,对只读页面尝试写入时将触发异常,这一机制常常被用来实现写时复制功能
PE: 是否开启保护模式
除了CR0,另一个值得关注的寄存器是CR3,它保存了当前进程所使用的虚拟地址空间的页目录地址,可以说是整个虚拟地址翻译中的顶级指挥棒,在进程空间切换的时候,CR3也将同步切换。
调试寄存器在x86/x64CPU内部,还有一组用于支持软件调试的寄存器。
调试,对于我们程序员是家常便饭,必备技能。但你想过你的程序能够被调试背后的原理吗?
程序能够被调试,关键在于能够被中断执行和恢复执行,被中断的地方就是我们设置的断点。那程序是如何能在遇到断点的时候停下来呢?

对于一些解释执行(PHP、Python、JavaScript)或虚拟机执行(Java)的高级语言,这很容易办到,因为它们的执行都在解释器/虚拟机的掌控之中。
而对于像C、C++这样的“底层”编程语言,程序代码是直接编译成CPU的机器指令来执行的,这就需要CPU来提供对于调试的支持了。
对于通常的断点,也就是程序执行到某个位置下就停下来,这种断点实现的方式,在x86/x64上,是利用了一条软中断指令:int 3来进行实现的。
注意,这里的int不是指高级语言里面的整数,而是表示interrupt中断的意思,是一条汇编指令,int 3则表示中断向量号为3的中断。
在我们使用调试器下断点时,调试器将会把对应位置的原来的指令替换为一个int 3指令,机器码为0xCC。这个动作对我们是透明的,我们在调试器中看到的依然是原来的指令,但实际上内存中已经不是原来的指令了。
顺便提一句,两个0xCC是汉字【烫】的编码,在一些编译器里,会给线程的栈中填充大量的0xCC,如果程序出错的时候,我们经常会看到很多烫烫烫出现,就是这个原因。

言归正传,CPU在执行这条int 3指令时,将自动触发中断处理流程(虽然这实际上不是一个真正的中断),CPU将取出IDTR寄存器指向的中断描述符表IDT的第3项,执行里面的中断处理函数。
而这个中断描述符表,早在操作系统启动之初,就已经提前安排好了,所以执行这条指令后,操作系统的中断处理函数将介入,来处理这一事件。
后面的过程就多了,简单来说,操作系统会把触发这一事件的进程冻结起来,随后将这一事件发送到调试器,调试器拿到之后就知道目标进程触发断点了。这个时候,咱们程序员就能通过调试器的UI交互界面或者命令行调试接口来调试目标进程,查看堆栈、查看内存、变量都随你。
如果我们要继续运行,调试器将会把之前修改的int 3指令给恢复回去,然后告知操作系统:我处理完了,把目标进程解冻吧!
上面简单描述了一下普通断点的实现原理。现在思考一个场景:我们发现一个bug,某个全局整数型变量的值老是莫名其妙被修改,但你发现有很多线程,很多函数都有可能会去修改这个变量,你想找出到底谁干的,怎么办?
这个时候上面的普通断点就没办法了,你需要一种新的断点:硬件断点。
这时候就该本小节的主人公调试寄存器登场表演了。

在x86架构CPU内部,提供了8个调试寄存器DR0~DR7。
DR0~DR3:这是四个用于存储地址的寄存器
DR4~DR5:这两个有点特殊,受前面提到的CR4寄存器中的标志位DE位控制,如果CR4的DE位是1,则DR4、DR5是不可访问的,访问将触发异常。如果CR4的DE位是0,则DR4和DR5将会变成DR6和DR7的别名,相当于做了一个软链接。这样做是为了将DR4、DR5保留,以便将来扩展调试功能时使用。
DR6:这个寄存器中存储了硬件断点触发后的一些状态信息
DR7:调试控制寄存器,这里面记录了对DR0-DR3这四个寄存器中存储地址的中断方式(是对地址的读,还是写,还是执行)、数据长度(1/2/4个字节)以及作用范围等信息
通过调试器的接口设置硬件断点后,CPU在执行代码的过程中,如果满足条件,将自动中断下来。
回答前面提出的问题,想要找出是谁偷偷修改了全局整形变量,只需要通过调试器设置一个硬件写入断点即可。
描述符寄存器所谓描述符,其实就是一个数据结构,用来记录一些信息,‘描述’一个东西。把很多个描述符排列在一起,组成一个表,就成了描述符表。再使用一个寄存器来指向这个表,这个寄存器就是描述符寄存器。
在x86/x64系列CPU中,有三个非常重要的描述符寄存器,它们分别存储了三个地址,指向了三个非常重要的描述符表。
gdtr: 全局描述符表寄存器,前面提到,CPU现在使用的是段+分页结合的内存管理方式,那系统总共有那些分段呢?这就存储在一个叫全局描述符表(GDT)的表格中,并用gdtr寄存器指向这个表。这个表中的每一项都描述了一个内存段的信息。
ldtr: 局部描述符表寄存器,这个寄存器和上面的gdtr一样,同样指向的是一个段描述符表(LDT)。不同的是,GDT是全局唯一,LDT是局部使用的,可以创建多个,随着任务段切换而切换(下文介绍任务寄存器会提到)。

GDT和LDT中的表项,就是段描述符,描述了一个内存分段的信息,其结构如下:

一个表项占据8个字节(32位CPU),里面存储了一个内存分段的诸多信息:基地址、大小、权限、类型等信息。
除了这两个段描述符寄存器,还有一个非常重要的描述符寄存器:
idtr: 中断描述符表寄存器,指向了中断描述符表IDT,这个表的每一项都是一个中断处理描述符,当CPU执行过程中发生了硬中断、异常、软中断时,将自动从这个表中定位对应的表项,里面记录了发生中断、异常时该去哪里执行处理函数。

IDT中的表项称为Gate,中文意思为门,因为这是应用程序进入内核的主要入口。虽然表的名字叫中断描述符表,但表中存储的不全是中断描述符,IDT中的表项存在三种类型,对应三种类型的门:
任务门
陷阱门
中断门

三种描述符中都存储了处理这个中断/异常/任务时该去哪里处理的地址。三种门用途不一,其中中断门是真正意义上的中断,而像前面提到的调试指令int 3以及老式的系统调用指令int 2e/int 80都属于陷阱门。任务门则用的较少,要了解任务门,先了解下任务寄存器。
任务寄存器现代操作系统,都是支持多任务并发运行的,x86架构CPU为了顺应时代潮流,在硬件层面上提供了专门的机制用来支持多任务的切换,这体现在两个方面:
CPU内部设置了一个专用的寄存器——任务寄存器TR,它指向当前运行的任务。

定义了描述任务的数据结构TSS,里面存储了一个任务的上下文(一系列寄存器的值),下图是一个32位CPU的TSS结构图:

x86CPU的构想是每一个任务对应一个TSS,然后由TR寄存器指向当前的任务,执行任务切换时,修改TR寄存器的指向即可,这是硬件层面的多任务切换机制。
这个构想其实还是很不错的,然而现实却打了脸,包括Linux和Windows在内的主流操作系统都没有使用这个机制来进行线程切换,而是自己使用软件来实现多线程切换。
所以,绝大多数情况下,TR寄存器都是指向固定的,即便线程切换了,TR寄存器仍然不会变化。
注意,我这里说的的是绝大多数情况,而没有说死。虽然操作系统不依靠TSS来实现多任务切换,但这并不意味着CPU提供的TSS操作系统一点也没有使用。还是存在一些特殊情况,如一些异常处理会使用到TSS来执行处理。
下面这张图,展示了控制寄存器、描述符寄存器、任务寄存器构成的全貌:

模型特定寄存器从80486之后的x86架构CPU,内部增加了一组新的寄存器,统称为MSR寄存器,中文直译是模型特定寄存器,意思是这些寄存器不像上面列出的寄存器是固定的,这些寄存器可能随着不同的版本有所变化。这些寄存器主要用来支持一些新的功能。
随着x86CPU不断更新换代,MSR寄存器变的越来越多,但与此同时,有一部分MSR寄存器随着版本迭代,慢慢固化下来,成为了变化中那部分不变的,这部分MSR寄存器,Intel将其称为Architected MSR,这部分MSR寄存器,在命名上,统一加上了IA32的前缀。
这里选取三个代表性的MSR简单介绍一下:
IA32_SYSENTER_CS
IA32_SYSENTER_ESP
IA32_SYSENTER_EIP
这三个MSR寄存器是用来实现快速系统调用。
在早期的x86架构CPU上,系统调用依赖于软中断实现,类似于前面调试用到的int 3指令,在Windows上,系统调用用到的是int 2e,在Linux上,用的是int 80。
软中断毕竟还是比较慢的,因为执行软中断就需要内存查表,通过IDTR定位到IDT,再取出函数进行执行。
系统调用是一个频繁触发的动作,如此这般势必对性能有所影响。在进入奔腾时代后,就加上了上面的三个MSR寄存器,分别存储了执行系统调用后,内核系统调用入口函数所需要的段寄存器、堆栈栈顶、函数地址,不再需要内存查表。快速系统调用还提供了专门的CPU指令sysenter/sysexit用来发起系统调用和退出系统调用。
在64位上,这一对指令升级为syscall/sysret。
总结以上就是全部要介绍的寄存器了,需要说明一下的是,这并不是x86CPU全部所有的寄存器,除了这些,还存在XMM、MMX、FPU浮点数运算等其他寄存器。
这篇文章以x86/x64架构CPU为目标,通过对CPU内部寄存器的阐述,串讲了CPU执行代码机制、内存寻址技术、中断与异常处理、多任务管理、系统调用、调试原理等多种计算机底层知识。
审核编辑:彭静
RS485基本知识介绍
时间:2026-04-18
什么是激光雷达?激光雷达的构成与分类
时间:2026-04-18
Excelpoint - 一文了解SiC MOS的应用
时间:2026-04-18
什么是磁电阻器?磁电阻特性及应用
时间:2026-04-18
什么是电场?电场在电容器中的应用
时间:2026-04-18
什么是ARM64?
时间:2026-04-17
vga和hdmi的区别
时间:2026-04-17
什么是ESD?ESD及TVS的原理和应用
时间:2026-04-17
开关电源原理与维修完整版 (10)_标清视频
时间:2026-04-16
开关电源原理与维修完整版 (11)_标清视频
时间:2026-04-16
什么是追踪缓存/转接卡?
时间:2026-03-06
GPS接收机的分类
时间:2026-03-07
GPS的WAAS跟踪性能
时间:2026-03-07
什么是GPS旅行提示器/屏幕尺寸
时间:2026-03-07
GPS设备的动态性能
时间:2026-03-07
EMC和ESD防护技术
时间:2026-03-05
GPS设备的地图功能
时间:2026-03-07
坐标基准
时间:2026-03-07
GPS的接口有哪些类型?
时间:2026-03-07
什么是EPIC
时间:2026-03-06